Features: *To 3.3 MHz Data Input Rate* 30 V Minimum Output Breakdown* Darlington Current-Sink Outputs* Low-Power CMOS Logic and LatchesPinoutSpecificationsOutput Voltage, VOUT . . . . . . . . . . . 30 VLogic Supply Voltage, VDD . . . . . . . 7.0 VInput Voltage Range, VIN . . . .... . .. . . . -0.3...
5833: Features: *To 3.3 MHz Data Input Rate* 30 V Minimum Output Breakdown* Darlington Current-Sink Outputs* Low-Power CMOS Logic and LatchesPinoutSpecificationsOutput Voltage, VOUT . . . . . . . . . . . ...
SeekIC Buyer Protection PLUS - newly updated for 2013!
268 Transactions
All payment methods are secure and covered by SeekIC Buyer Protection PLUS.

Designed to reduce logic supply current, chip size, and system cost, the UCN5833A/EP integrated circuits offer high-speed operation for thermal printers. These UCN5833A/EP can also be used to drive multiplexed LED displays or incandescent lamps within their 125 mA peak output current rating. The combination of bipolar and MOS technologies gives BiMOS II smart power ICs an interface flexibility beyond the reach of standard buffers and power driver circuits.
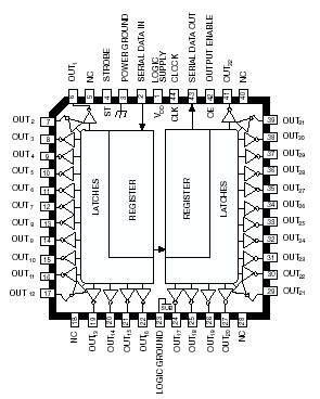
These 32-bit drivers UCN5833A/EP have bipolar open-collector npn Darlington outputs, a CMOS data latch for each of the drivers, a 32-bit CMOS shift register, and CMOS control circuitry. The high-speed CMOS shift registers and latches allow operation with most microprocessor-based systems at data input rates above 3.3 MHz. Use of these drivers UCN5833A/EP with TTL may require input pull-up resistors to ensure an input logic high.
The UCN5833A is supplied in a 40-pin dual in-line plastic package with 0.600" (15.24 mm) row spacing. At an ambient temperature of +75°C, all outputs of the DlP-packaged device will sustain 50 mA continuously. For high-density applications, the UCN5833EP is available. This 44-lead plastic chip carrier (quad pack) is intended for surface-mounting on solder lands with 0.050" (1.27 mm) centers. CMOS serial data outputs of UCN5833A/EP permit cascading for applications requiring additional drive lines.