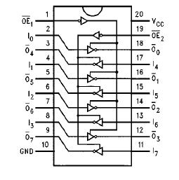
Buffers & Line Drivers Octal Buf/Line Drv
74F2240SC: Buffers & Line Drivers Octal Buf/Line Drv
SeekIC Buyer Protection PLUS - newly updated for 2013!
268 Transactions
All payment methods are secure and covered by SeekIC Buyer Protection PLUS.
| Number of Input Lines : | 8 | Number of Output Lines : | 3 |
| Polarity : | Inverting | Supply Voltage - Max : | 5.5 V |
| Supply Voltage - Min : | 4.5 V | Maximum Operating Temperature : | + 70 C |
| Mounting Style : | SMD/SMT | Package / Case : | SOIC-20 |
| Packaging : | Rail |

The 74F2240SC is an inverting octal buffer and line driver designed to drive capacitive inputs of MOS memory devices, address and clock lines or act as a low undershoot general purpose bus driver.
The 25W series resistor of the 74F2240SC in the outputs reduces undershoot and ringing and eliminates the need for external resistors