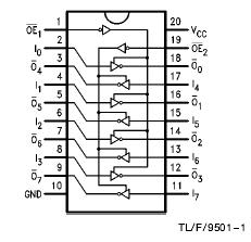
Features: *TRI-STATE outputs drive bus lines or buffer memory address registers* Outputs sink 64 mA (48 mA mil)* 12 mA source current* Input clamp diodes limit high-speed termination effects* Guaranteed 4000V minimum ESD protectionPinoutSpecificationsStorage Temperature ..............................
74F240: Features: *TRI-STATE outputs drive bus lines or buffer memory address registers* Outputs sink 64 mA (48 mA mil)* 12 mA source current* Input clamp diodes limit high-speed termination effects* Guaran...
SeekIC Buyer Protection PLUS - newly updated for 2013!
268 Transactions
All payment methods are secure and covered by SeekIC Buyer Protection PLUS.

The 74F240 is octal buffers and line drivers designed to be employed as memory and address drivers, clock drivers and bus-oriented transmitters/receivers which provide improved PC and board density.