Buffers & Line Drivers Buffer/Line Driver
74LCX2244WM: Buffers & Line Drivers Buffer/Line Driver
SeekIC Buyer Protection PLUS - newly updated for 2013!
268 Transactions
All payment methods are secure and covered by SeekIC Buyer Protection PLUS.
US $.23 - .39 / Piece
Gates (AND / NAND / OR / NOR) Quad 2-Input NAND Gate with 5V Tol Inp
| Number of Input Lines : | 8 | Number of Output Lines : | 8 |
| Polarity : | Non-Inverting | Supply Voltage - Max : | 3.6 V |
| Supply Voltage - Min : | 2.3 V | Maximum Operating Temperature : | + 85 C |
| Mounting Style : | SMD/SMT | Package / Case : | SOIC-20 |
| Packaging : | Tube |

| Symbol | Parameter | Value | Conditions | Units |
| VCC | Supply Voltage | −0.5 to +7.0 | V | |
| VI | DC Input Voltage | −0.5 to +7.0 | V | |
| VO | DC Output Voltage | −0.5 to VCC + 0.5 | Output in HIGH or LOW State (Note 2) | V |
| LIK | DC Input Diode Current | -50 | VI < GND | mA |
| LOK | DC Output Diode Current | -50 +50 |
VO < GND VO > VCC |
mA |
| LO | DC Output Source/Sink Current | ±50 | mA | |
| LCC | DC Supply Current per Supply Pin | ±100 | mA | |
| LANG | DC Ground Current per Ground Pin | ±100 | mA | |
| TSTG | Storage Temperature | −65 to +150 | °C |
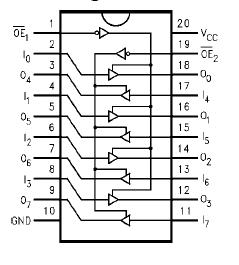
The 74LCX2244WM contains eight non-inverting buffers with 3-STATE outputs. The device may be employed as a memory address driver, clock driver and bus-oriented transmitter/ receiver. The LCX2244 is designed for low voltage (2.5V or 3.3V) VCC applications with capability of interfacing to a 5V signal environment. The 26 series resistors help reduce output overshoot and undershoot.
The 74LCX2244WM is fabricated with an advanced CMOS technology to achieve high speed operation while maintaining CMOS low power dissipation.
| Technical/Catalog Information | 74LCX2244WM |
| Vendor | Fairchild Semiconductor |
| Category | Integrated Circuits (ICs) |
| Logic Type | Line Driver, Non-Inverting |
| Package / Case | 20-SOIC |
| Packaging | Tube |
| Mounting Type | Surface Mount |
| Number of Bits per Element | 8 |
| Number of Elements | 1 - Single |
| Operating Temperature | -40°C ~ 85°C |
| Voltage - Supply | 2 V ~ 3.6 V |
| Current - Output High, Low | 12mA, 12mA |
| Lead Free Status | Lead Free |
| RoHS Status | RoHS Compliant |
| Other Names | 74LCX2244WM 74LCX2244WM |