Buffers & Line Drivers Buffer/Line Driver 5V Open Drain
74LCX760WM: Buffers & Line Drivers Buffer/Line Driver 5V Open Drain
SeekIC Buyer Protection PLUS - newly updated for 2013!
268 Transactions
All payment methods are secure and covered by SeekIC Buyer Protection PLUS.
US $.23 - .39 / Piece
Gates (AND / NAND / OR / NOR) Quad 2-Input NAND Gate with 5V Tol Inp
| Number of Input Lines : | 8 | Number of Output Lines : | 8 |
| Polarity : | Non-Inverting | Supply Voltage - Max : | 3.6 V |
| Supply Voltage - Min : | 2 V | Maximum Operating Temperature : | + 85 C |
| Mounting Style : | SMD/SMT | Package / Case : | SOIC-20 |
| Packaging : | Tube |

| Symbol | Parameter | Value | Conditions | Units |
| VCC | Supply Voltage | -0.5 to +7.0 | V | |
| VI | DC Input Voltage | -0.5 to +7.0 | V | |
| VO | DC Output Voltage | -0.5 to +7.0 | - Output in HIGH or LOW State (Note3) |
V |
| LIK | DC Input Diode Current | -50 | VI < GND | mA |
| LOK | DC Output Diode Current | -50 +50 |
VO < GND VO > VCC |
mA |
| LO | DC Output Source/Sink Current | ±50 | mA | |
| LCC | DC Supply Current per Supply Pin | ±100 | mA | |
| LANG | DC Ground Current per Ground Pin | ±100 | mA | |
| TSTG | Storage Temperature | ?65 to +150 | °C |
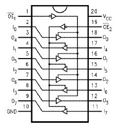
The 74LCX760WM is the Open Drain version of the 74LCX760WM. The 74LCX760WM contains eight non-inverting buffers with 3-STATE outputs. The device may be employed as a memory address driver, clock driver and bus-oriented transmitter/ receiver. The LCX760 is designed for low voltage (2.5V or 3.3V) VCC applications with capability of interfacing to a 5V signal environment.
The 74LCX760WM is fabricated with an advanced CMOS technology to achieve high speed operation while maintaining CMOS low power dissipation.
| Technical/Catalog Information | 74LCX760WM |
| Vendor | Fairchild Semiconductor |
| Category | Integrated Circuits (ICs) |
| Logic Type | Line Driver, Non-Inverting |
| Package / Case | 20-SOIC |
| Packaging | Tube |
| Mounting Type | Surface Mount |
| Number of Bits per Element | 8 |
| Number of Elements | 1 - Single |
| Operating Temperature | -40°C ~ 85°C |
| Voltage - Supply | 2 V ~ 3.6 V |
| Current - Output High, Low | - |
| Lead Free Status | Lead Free |
| RoHS Status | RoHS Compliant |
| Other Names | 74LCX760WM 74LCX760WM |