Features: Input and output interface capability to systems at 5V VCCEquivalent 25W-Series resistors on outputsBushold data inputs eliminate the need for external pullup resistors to hold unused inputs (74LVTH2240), also available without bushold feature (74LVT2240).Live insertion/extraction permi...
74LVTH2240: Features: Input and output interface capability to systems at 5V VCCEquivalent 25W-Series resistors on outputsBushold data inputs eliminate the need for external pullup resistors to hold unused inp...
SeekIC Buyer Protection PLUS - newly updated for 2013!
268 Transactions
All payment methods are secure and covered by SeekIC Buyer Protection PLUS.

| Symbol | Parameter | Value | Conditions | Units |
| VCC | Supply Voltage | -0.5 to +4.6 | V | |
| VI | DC Input Voltage | -0.5 to +7.0 | V | |
| VO | DC Output Voltage | -0.5 to +7.0 | Output in 3-STATE | V |
| -0.5 to +7.0 | Output in HIGH or LOW State (Note 2) | V | ||
| IIK | DC Input Diode Current | -50 | VI < GND | mA |
| IOK | DC Output Diode Current | -50 | VO < GND | mA |
| IO | DC Output Current | 64 | VO > VCC Output at HIGH State | mA |
| 128 | VO > VCC Output at LOW State | |||
| ICC | DC Supply Current per Supply Pin | ±64 | mA | |
| IGND | DC Ground Current per Ground Pin | ±128 | mA | |
| TSTG | Storage Temperature | -65 to +150 |
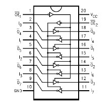
The 74LVTH2240 are inverting octal buffers and line drivers designed to be employed as memory address drivers, clock drivers and bus oriented transmitters or receivers which provides improved PC board density. The equivalent 25W-Series resistors helps reduce output overshoot and undershoot.
The 74LVTH2240 data inputs include bushold, eliminating the need for external pull-up resistors to hold unused inputs.These inverting octal buffers and line drivers are designedfor low-voltage (3.3V) VCC applications, but with the capability to provide a TTL interface to a 5V environment. The 74LVTH2240 are fabricated with an advanced BiCMOS technology to achieve high speed operation similar to 5V ABT while maintaining low power dissipation.