Features: `5 V Stereo Audio DAC System`Accepts 16-/18-/20-/24-Bit Data`Supports 24 Bits and 192 kHz Sample Rate`Accepts a Wide Range of Sample Rates Including:`32 kHz, 44.1 kHz, 48 kHz, 88.2 kHz, 96 kHz and 192 kHz`Multibit Sigma-Delta Modulator with Perfect Differential`Linearity Restoration fo...
AD1853: Features: `5 V Stereo Audio DAC System`Accepts 16-/18-/20-/24-Bit Data`Supports 24 Bits and 192 kHz Sample Rate`Accepts a Wide Range of Sample Rates Including:`32 kHz, 44.1 kHz, 48 kHz, 88.2 kHz, 96...
SeekIC Buyer Protection PLUS - newly updated for 2013!
268 Transactions
All payment methods are secure and covered by SeekIC Buyer Protection PLUS.


| Min | Max | Units | |
| DVDD to DGND AVDD to AGND Digital Inputs Analog Outputs AGND to DGND Reference Voltage Soldering |
0.3 0.3 DGND 0.3 AGND 0.3 0.3 |
6 6 DVDD + 0.3 AVDD + 0.3 0.3 (AVDD + 0.3)/2 +300 10 |
V V V V V °C sec |
| DAC DNR (dB) | 116dB |
| SNR (dB) | 117dB |
| DAC THD+N @ 1 kHz (-3dB) | 104dB |
| Product Description | 24-bit 192 kHz Multibit Sigma-Delta DAC (Current Output) |
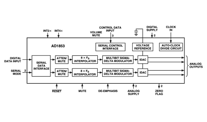
The AD1853 is a complete high performance single-chip stereo digital audio playback system. It is comprised of a high performance digital interpolation filter, a multibit sigma-delta modulator, and a continuous-time current-out analog DAC section. Other features include an on-chip clickless stereo attenuator and mute capability, programmed through an SPIcompatible serial control port. The AD1853 is fully compatible with all known DVD formats and supports 48 kHz, 96 kHz and 192 kHz sample rates with up to 24 bits word lengths. It also provides the "Redbook" standard 50 s/15 s digital de-emphasis filters at sample rates of 32 kHz, 44.1 kHz and 48 kHz.
The AD1853 has a very flexible serial data input port that allows for glueless interconnection to a variety of ADCs, DSP
chips, AES/EBU receivers and sample rate converters. The AD1853 can be configured in left-justified, I2S, right-justified, or DSP serial port compatible modes. The AD1853 accepts serial audio data in MSB first, twos complement format.
The AD1853 operates from a single +5 V power supply. It is fabricated on a single monolithic integrated circuit and is housed in a 28-lead SSOP package for operation over the temperature range 0°C to +70°C.
The AD1853 is the first audio DAC to support the 192 kHz Sample Rate now included in the DVD-Audio specification. The AD1853 is fully compatible with sample rate from 32 kHz up to and including