Features: `5 V Stereo Audio DAC System`Accepts 16-/18-/20-/24-Bit Data`Supports 24 Bits and 96 kHz Sample Rate`Multibit Sigma-Delta Modulator with Perfect Differential`Linearity Restoration for Reduced Idle Tones and`Noise Floor`Data Directed Scrambling DAC-Least Sensitive to Jitter`Differential...
AD1854: Features: `5 V Stereo Audio DAC System`Accepts 16-/18-/20-/24-Bit Data`Supports 24 Bits and 96 kHz Sample Rate`Multibit Sigma-Delta Modulator with Perfect Differential`Linearity Restoration for Re...
SeekIC Buyer Protection PLUS - newly updated for 2013!
268 Transactions
All payment methods are secure and covered by SeekIC Buyer Protection PLUS.

| DAC DNR (dB) | 113dB |
| SNR (dB) | 112dB |
| DAC THD+N @ 1 kHz (-3dB) | 97dB |
| Product Description | Complete Single Chip Stereo Audio D/A |
| Min | Max | Units | |
| DVDD to DGND AVDD to AGND Digital Inputs Analog Outputs AGND to DGND Reference Voltage Soldering |
0.3 0.3 DGND 0.3 AGND 0.3 0.3 |
6 6 DVDD + 0.3 AVDD + 0.3 0.3 (AVDD + 0.3)/2 +300 10 |
V V V V V °C sec |
The AD1854 is a high performance, single-chip stereo, audioDAC delivering 113 dB Dynamic Range and 112 dB SNR(A-weighted-not muted) at 48 kHz sample rate. It is comprisedof a multibit
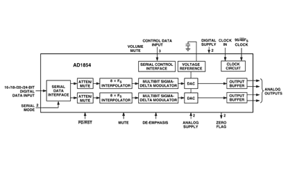
The AD1854 is a high performance, single-chip stereo, audio DAC delivering 113 dB Dynamic Range and 112 dB SNR (A-weighted-not muted) at 48 kHz sample rate. It is comprised of a multibit sigma-delta modulator with dither, continuous time analog filters and analog output drive circuitry. Other features include an on-chip stereo attenuator and mute, programmed through an SPI-compatible serial control port. The AD1854 is fully compatible with current DVD formats, including 96 kHz sample frequency and 24 bits. It is also backwards compatible by supporting 50 s/15 s digital de-emphasis intended for "redbook" 44.1 kHz sample frequency playback from compact discs.
The AD1854 has a very simple but very flexible serial data input port that allows for glueless interconnection to a variety of ADCs, DSP chips, AES/EBU receivers and sample rate converters.
The AD1854 can be configured in left-justified, I2S, and rightjustified. The AD1854 accepts serial audio data in MSB first, twos-complement format. A power-down mode is offered to minimize power consumption when the device is inactive. The AD1854 operates from a single 5 V power supply. It is fabricated on a single monolithic integrated circuit and housed in a 28-lead SSOP package for operation over the temperature range 0°C to 70°C.