Features: AD5304Four Buffered 8-Bit DACs in 10-Lead microSOICAD5314Four Buffered 10-Bit DACs in 10-Lead microSOICAD5324Four Buffered 12-Bit DACs in 10-Lead microSOICLow Power Operation: 500A @ 3 V, 600A @ 5 V2.5 V to 5.5 V Power SupplyGuaranteed Monotonic ByDesign Over All CodesPower-Down to 80 nA...
AD5304: Features: AD5304Four Buffered 8-Bit DACs in 10-Lead microSOICAD5314Four Buffered 10-Bit DACs in 10-Lead microSOICAD5324Four Buffered 12-Bit DACs in 10-Lead microSOICLow Power Operation: 500A @ 3 V, ...
SeekIC Buyer Protection PLUS - newly updated for 2013!
268 Transactions
All payment methods are secure and covered by SeekIC Buyer Protection PLUS.
A @ 3 V, 600
A @ 5 V2.5 V to 5.5 V Power SupplyGuaranteed Monotonic ByDesign Over All CodesPower-Down to 80 nA @ 3 V, 200 nA @ 5 VDouble-Buffered Input LogicOutput Range: 0VREF Power-On-Reset to Zero VoltsSimultaneous Update of Outputs (LDAC Function)Low Power, SPI™, QSPI™, MICROWIRE™, andDSP-Compatible 3-Wire Serial InterfaceOn-Chip Rail-toRail Output Buffer AmplifiersTemperature Range 40 to +105

| Resolution (Bits) | 8bit |
| DAC Update Rate | 167kSPS |
| DAC Settling Time | 6s |
| # DAC Outputs | 4 |
| DAC Type | Voltage Out |
| DAC Input Format | Ser,SPI |
| Output FSR | (Uni Vref) |
| Ref Int/Ext | Ext |
| Supply Vnom | Single(+2.5),Single(+2.7),Single(+3),Single(+3.3),Single(+5) |
| Pwr Diss | 4.5mW |
| Package | SOIC,SOP |
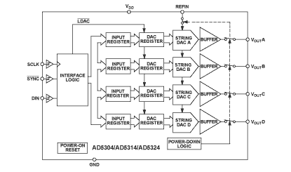
The AD5304/AD5314/AD5324 are quad 8-, 10- and 12-bitbuffered voltage output DACs in a 10-lead microSOIC packagethat operate from a single 2.5 V to 5.5 V supply consuming500 A at 3 V. Their on-chip output amplifiers allow rail-torailoutput swing to be achieved with a slew rate of 0.7 V/s.A 3-wire serial interface is used which operates at clock ratesup to 30 MHz and is compatible with standard SPI, QSPI,MICROWIRE and DSP interface standards.
The references for the four DACs are derived from one referencepin. The outputs of all DACs may be updated simultaneouslyusing the softwareLDAC function. The parts incorporate apower-on-reset circuit that ensures that the DAC outputs powerup to zero volts and remain there until a valid write takes placeto the device. The parts contain a power-down feature thatreduces the currentconsumption of the device to 200 nA @ 5 V(80 nA @ 3 V).
The low power consumption of these parts in normal operationmakes them ideally suited to portable battery-operated equipment.The power consumption is 3 mW at 5 V, 1.5 mW at 3 V, reducingto 1 W in power-down mode.