Features: `AD5305: 4 Buffered 8-Bit DACs in 10-Lead MSOP`A Version: ±1 LSB INL, B Version: ±0.625 LSB INL`AD5315: 4 Buffered 10-Bit DACs in 10-Lead MSOP`A Version: ±4 LSB INL, B Version: ±2.5 LSB INL`AD5325: 4 Buffered 12-Bit DACs in 10-Lead MSOP`A Version: ±16 LSB INL, B Version: ±10 LSB INL`Low ...
AD5305: Features: `AD5305: 4 Buffered 8-Bit DACs in 10-Lead MSOP`A Version: ±1 LSB INL, B Version: ±0.625 LSB INL`AD5315: 4 Buffered 10-Bit DACs in 10-Lead MSOP`A Version: ±4 LSB INL, B Version: ±2.5 LSB IN...
SeekIC Buyer Protection PLUS - newly updated for 2013!
268 Transactions
All payment methods are secure and covered by SeekIC Buyer Protection PLUS.


| Resolution (Bits) | 8bit |
| DAC Update Rate | 167kSPS |
| DAC Settling Time | 6s |
| # DAC Outputs | 4 |
| DAC Type | Voltage Out |
| DAC Input Format | I2C/Ser 2-wire,Ser |
| Output FSR | (Uni Vref) |
| Ref Int/Ext | Ext |
| Supply Vnom | Single(+2.5),Single(+2.7),Single(+3),Single(+3.3),Single(+5) |
| Pwr Diss (Max) | 5mW |
| Package | SOP |
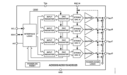
The AD5305/AD5315/AD5325 are quad 8-, 10-, and 12-bit buffered voltage output DACs in a 10-lead MSOP that operate from a single 2.5 V to 5.5 V supply, consuming 500 µA at 3 V. Their on-chip output amplifiers allow rail-to-rail output swing with a slew rate of 0.7 V/µs. A 2-wire serial interface, which operates at clock rates up to 400 kHz, is used. This interface is SMBus compatible at VDD < 3.6 V. Multiple devices can be placed on the same bus.
The references for the four DACs AD5305 are derived from one reference pin. The outputs of all DACs may be updated simultaneously using the software LDAC function. The parts incorporate a power-on reset circuit, which ensures that the DAC outputs power up to 0 V and remain there until a valid write takes place to the device. There is also a software clear function that resets all input and DAC registers to 0 V.
The parts of AD5305 contain a power-down feature that reduces the current consumption of the devices to 200 nA @ 5 V (80 nA @ 3 V). The low power consumption of these parts in normal operation makes them ideally suited to portable battery-operated equipment. The power consumption is 3 mW at 5 V, 1.5 mW at 3 V, reducing to 1 µW in power-down mode.