Features: `High integration 32-channel, 14-bit DAC with integrated high voltage output amplifier`Guaranteed monotonic`Housed in 15 mm * 15 mm CSP_BGA package`Full-scale output voltage Programmable from 50 V to 200 V via reference input`700 A drive capability`Integrated silicon diode for temperatur...
AD5535: Features: `High integration 32-channel, 14-bit DAC with integrated high voltage output amplifier`Guaranteed monotonic`Housed in 15 mm * 15 mm CSP_BGA package`Full-scale output voltage Programmable f...
SeekIC Buyer Protection PLUS - newly updated for 2013!
268 Transactions
All payment methods are secure and covered by SeekIC Buyer Protection PLUS.

|
Parameter |
Rating |
| VPP to AGND V− to AGND V+ to AGND AVCC to AGND, DAC_GND DVCC to DGND Digital Inputs to DGND REF_IN to AGND, DAC_GND VOUT (0 to 31) to AGND Anode/Cathode to AGND, DAC_GND AGND to DGND Operating Temperature Range Industrial Storage Temperature Range Junction Temperature (TJ max) 124-Lead CSP_BGA Package, JA Thermal Impedance Lead Temperature Soldering Vapor Phase (60 sec) Infrared (15 sec) Reflow Soldering (Pb-free) Peak Temperature Time at Peak Temperature ESD (Human Body Model) |
0.3 V to 250 V +0.3 V to −6 V −0.3 V to +7 V −0.3 V to +7 V −0.3 V to +7 V −0.3 V to DVCC + 0.3 V −0.3 V to AVCC + 0.3 V V to VPP −0.3 V to +7 V −0.3 V to +0.3 V −10°C to +85°C −65°C to +150°C 150°C 40°C/W 215°C 220°C 260(0/−5)°C 10 sec to 40 sec 450 V |
| Resolution (Bits) | 14bit |
| DAC Update Rate | 1.2MSPS |
| DAC Settling Time | 65s |
| # DAC Outputs | 32 |
| DAC Type | Voltage Out |
| DAC Input Format | Ser |
| Output FSR | (Uni 200V),(Uni 50V),User Def. Range/Offset |
| Ref Int/Ext | Ext |
| Supply Vnom | Multi(±5, +5, +210) |
| Pwr Diss | 787mW |
| Package | BGA,CSP |
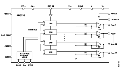
The AD5535 is a 32-channel, 14-bit DAC with an on-chip high voltage output amplifier. This device is targeted for optical micro-electromechanical systems. The output voltage range is programmable via the REF_IN pin. The output range is 0 V to 50 V when REF_IN = 1 V, and 0 V to 200 V when REF_IN = 4 V. Each amplifier can source 700 A, which is ideal for the deflection and control of optical MEMS mirrors.
The selected DAC register AD5535 is written to via the 3-wire interface. The serial interface operates at clock rates of up to 30 MHz and is compatible with DSP and microcontroller interface standards.
The device AD5535 is operated with AVCC = 4.75 V to 5.25 V, DVCC = 2.7 V to 5.25 V, V− = −4.75 V to −5.25 V, V+ = 4.75 V to 5.25 V, and VPP = 210 V. REF_IN is buffered internally on the AD5535 and should be driven from a stable reference source.