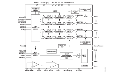
Features: `Input channels12-bit successive approximation ADC16 inputs with sequencerFast throughput rate: 1 MSPSWide input bandwidth: 70 dB SNR at fIN = 50 kHz`Output channels16 outputs with 12-bit DACs`On-chip 2.5 V referenceHardware LDAC and LDAC override functionCLR function to programmable cod...
AD5590: Features: `Input channels12-bit successive approximation ADC16 inputs with sequencerFast throughput rate: 1 MSPSWide input bandwidth: 70 dB SNR at fIN = 50 kHz`Output channels16 outputs with 12-bit ...
SeekIC Buyer Protection PLUS - newly updated for 2013!
268 Transactions
All payment methods are secure and covered by SeekIC Buyer Protection PLUS.

| Resolution (Bits) | 12bit |
| T-Put Rate | 1MSPS |
| # Chan | 16 |
| Supply V | Single(+5) |
| Pwr Diss | 42.3mW |
| Interface | Ser,SPI |
| Ain Range | (2Vref) p-p,(Vref) p-p,Uni (Vref),Uni (Vref) x 2,Uni 2.5V,Uni 5.0V |
| SNR (dB) | 70dB |
| Pkg Type | CSP |
| Parameter | Rating |
| VDD to GND VDRIVE to GND Op Amp Supply Voltage Op Amp Input Voltage Op Amp Differential Input Voltage Op Amp Output Short-Circuit Duration to GND Analog Input Voltage to GND Digital Input Voltage to GND Digital Output Voltage to GND VREFA to GND VREFIN/VREFOUT to GND Input Current to Any ADC Pin Except Supplies Operating Temperature Range Storage Temperature Range Junction Temperature (TJ max) |
−0.3 V to +7 V −0.3 V to VDD + 0.3 V 6 V (V1− or V2−) − 0.3 V to (V1+ or V2+) + 0.3 V ±6 V Indefinite −0.3 V to VDD + 0.3 V −0.3 V to +7 V −0.3 V to VDD +0.3 V −0.3 V to VDD +0.3 V −0.3 V to VDD +0.3 V ±10 mA −40 to +85 −65 to +150 150 |
Stresses above those listed under Absolute Maximum Ratings may cause permanent damage to the device. This is a stress rating only; functional operation of the device at these or any other conditions above those indicated in the operational section of this specification is not implied. Exposure to absolute maximum rating conditions for extended periods may affect device reliability.