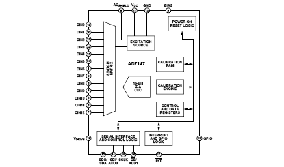
PinoutSpecifications Resolution (Bits) 16bit T-Put Rate 111SPS # Chan 13 Supply V Single(+3),Single(+3.3) ...
AD7147: PinoutSpecifications Resolution (Bits) 16bit T-Put Rate 111SPS # Chan ...
SeekIC Buyer Protection PLUS - newly updated for 2013!
268 Transactions
All payment methods are secure and covered by SeekIC Buyer Protection PLUS.

| Resolution (Bits) | 16bit |
| T-Put Rate | 111SPS |
| # Chan | 13 |
| Supply V | Single(+3),Single(+3.3) |
| Pwr Diss (max) | 3.6mW |
| Interface | I2C/Ser 2-Wire,Ser,SPI |
| Ain Range | ± 8 pF (Delta C) |
| SNR (dB) | n/a |
| Pkg Type | CSP |