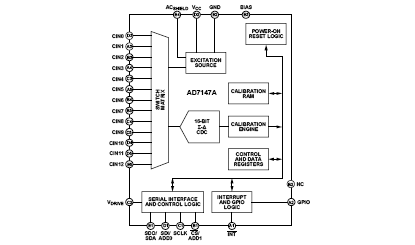
PinoutSpecifications Resolution (Bits) 16bit T-Put Rate 250kSPS # Chan 13 Supply V (+3.3Anlg,+1.6 to 3.6Dig),(+3Anlg, +1...
AD7147A: PinoutSpecifications Resolution (Bits) 16bit T-Put Rate 250kSPS # Chan ...
SeekIC Buyer Protection PLUS - newly updated for 2013!
268 Transactions
All payment methods are secure and covered by SeekIC Buyer Protection PLUS.

| Resolution (Bits) | 16bit |
| T-Put Rate | 250kSPS |
| # Chan | 13 |
| Supply V | (+3.3Anlg,+1.6 to 3.6Dig),(+3Anlg, +1.6 to 3.6Dig),Single(+2.7 to +5.25) |
| Pwr Diss (max) | 6.5mW |
| Sleep Pwr Diss | 36W |
| Ain Range | ± 8 pF (Delta C) |
| Ref Int/Ext | Int |
| Product Description | CapTouch? Programmable Controller for Single-Electrode Capacitance Sensors |