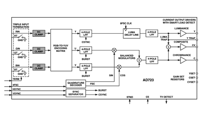
Features: Low Cost, Fully Integrated Solution for NTSC/PALComposite and Y/C (S-Video) OutputsCurrent Output Drives 75 LoadsDC-Coupled: Supports TV Load DetectNo Large AC-Coupling Capacitors at OutputSelf-Power-Down of Unloaded Output DriversTriple Switch to Enable RGB TerminationIntegrated Delay L...
AD723: Features: Low Cost, Fully Integrated Solution for NTSC/PALComposite and Y/C (S-Video) OutputsCurrent Output Drives 75 LoadsDC-Coupled: Supports TV Load DetectNo Large AC-Coupling Capacitors at Outpu...
SeekIC Buyer Protection PLUS - newly updated for 2013!
268 Transactions
All payment methods are secure and covered by SeekIC Buyer Protection PLUS.


| # DAC | n/a |
| Resolution (Bits) | n/a |
| Standard Definition | X |
| Component RGB/YPbPr | RGB only |
| CVBS/S-Video | X |
| I/O Supply (V) | 2.7 to 5V |
| A & D Core Supply (V) | 3.3 or 5V |
| Package | 28-Lead TSSOP |