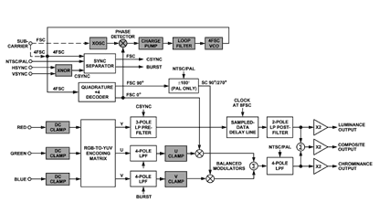
Features: Low Cost, Integrated Solution+5 V OperationAccepts FSC Clock or Crystal, or 4FSC ClockComposite Video and Separate Y/C (S-Video) OutputsLuma and Chroma Outputs Are Time AlignedMinimal External Components:No External Filters or Delay Lines RequiredOnboard DC ClampAccepts Either HSYNC and ...
AD724: Features: Low Cost, Integrated Solution+5 V OperationAccepts FSC Clock or Crystal, or 4FSC ClockComposite Video and Separate Y/C (S-Video) OutputsLuma and Chroma Outputs Are Time AlignedMinimal Exte...
SeekIC Buyer Protection PLUS - newly updated for 2013!
268 Transactions
All payment methods are secure and covered by SeekIC Buyer Protection PLUS.


| # DAC | n/a |
| Resolution (Bits) | n/a |
| Standard Definition | X |
| Component RGB/YPbPr | RGB only |
| CVBS/S-Video | X |
| I/O Supply (V) | 5V |
| Package | 16-Lead SOIC |