Features: Dual 12-bit, 3-channel ADCFast throughput rate: 1 MSPSSpecified for VDD of 2.7 V to 5.25 VLow power: 7 mW max at 1 MSPS with 3 V supplies16.5 mW max at 1 MSPS with 5 V suppliesWide input bandwidth70 dB SNR at 100 kHz input frequencyOn-chip reference: 2.5 V40 to +125 operationFlexible pow...
AD7265: Features: Dual 12-bit, 3-channel ADCFast throughput rate: 1 MSPSSpecified for VDD of 2.7 V to 5.25 VLow power: 7 mW max at 1 MSPS with 3 V supplies16.5 mW max at 1 MSPS with 5 V suppliesWide input b...
SeekIC Buyer Protection PLUS - newly updated for 2013!
268 Transactions
All payment methods are secure and covered by SeekIC Buyer Protection PLUS.
Dual 12-bit, 3-channel ADC
Fast throughput rate: 1 MSPS
Specified for VDD of 2.7 V to 5.25 V
Low power: 7 mW max at 1 MSPS with 3 V supplies
16.5 mW max at 1 MSPS with 5 V supplies
Wide input bandwidth
70 dB SNR at 100 kHz input frequency
On-chip reference: 2.5 V
40 to +125 operation
Flexible power/throughput rate management
Simultaneous conversion/read
No pipeline delays
High speed serial interface SPI®/QSPI™/MICROWIRE™/DSPcompatible
Shutdown mode: 1 µA max
32-lead LFCSP and TQFP packages


| Resolution (Bits) | 12bit |
| T-Put Rate | 1MSPS |
| # Chan | 12 |
| Supply V | Single(+2.7 to +5.25) |
| Pwr Diss | 21mW |
| Interface | Ser,SPI |
| Ain Range | Uni (Vref),Uni (Vref) x 2 |
| SNR (dB) | 71dB |
| Pkg Type | CSP,QFP |
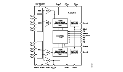
The AD7265 is a dual, 12-bit, high speed, low power, successiveapproximation ADC that operates from a single 2.7 V to 5.25 Vpower supply and features throughput rates up to 1 MSPS. Thedevice contains two ADCs, each preceded by a 3-channel multiplexer,and a low noise, wide bandwidth track-and-hold amplifierthat can handle input frequencies in excess of 10 MHz.
The conversion process and data acquisition are controlled usingstandard control inputs, allowing easy interfacing to microprocessorsor DSPs. The input signal is sampled on the falling edge of CS;conversion is also initiated at this point. The conversion time isdetermined by the SCLK frequency. There are no pipelined delaysassociated with the part.
The AD7265 uses advanced design techniques to achieve very lowpower dissipation at high throughput rates. With 5 V supplies and a1 MSPS throughput rate, the part consumes ? mA maximum. Thepart also offers flexible power/throughput rate management whenoperating in sleep mode.
The analog input range for the part can be selected to be a 0 V toVREF range or a 2VREF range with either straight binary or twoscomplement output coding. The AD7265 has an on-chip 2.5 Vreference that can be overdriven if an external reference is preferred.This external reference range is 100 mV to 2.5 V. TheAD7265 is available in 32-lead lead frame chip scale (LFCSP) andthin flat quad (TQFP) lead package.