Features: `10 MHz Data Rate (AD7400)`2nd Order Modulator `±4 LSB INL @16 Bits `Onboard Digital Isolator`Onboard Reference`Low Power Operation: 15 mA @ 5 V `-40*C to +105 Operating Range`16-ld SOIC Package `Safety and Regulatory Approvals `UL Recognition `3750 VRMS for 1 minute per UL 1577 `CSA Com...
AD7401: Features: `10 MHz Data Rate (AD7400)`2nd Order Modulator `±4 LSB INL @16 Bits `Onboard Digital Isolator`Onboard Reference`Low Power Operation: 15 mA @ 5 V `-40*C to +105 Operating Range`16-ld SOIC P...
SeekIC Buyer Protection PLUS - newly updated for 2013!
268 Transactions
All payment methods are secure and covered by SeekIC Buyer Protection PLUS.


| Resolution (Bits) | 16bit |
| T-Put Rate | 20MSPS |
| # Chan | 1 |
| Supply V | Multi(+3, +5 Isolated),Multi(+5, +5 Isolated) |
| Pwr Diss | 100mW |
| Interface | Ser |
| Ain Range | 0.4 V p-p |
| SNR (dB) | 80dB |
| Pkg Type | SOIC |
| VDD1 to GND1 |
-0.3 V to +6.5V |
| VDD2 to GND2 |
-0.3 V to +6.5 V |
| Analog Input Voltage to GND1 |
0.3 V to VDD1 +0.3V |
| Digital Input Voltage to GND2 |
-0.3 V to VDD2 +0.5 V |
| Output Voltage to GND2 |
-0.3 V to VDD2 +0.3V |
| Input Current to Any Pin Except Supplies2 |
±10mA |
| Operating Temperature Range |
40°C to +105°C |
| Storage Temperature Range |
65°C to +150°C |
| Junction Temperature |
150°C |
| SOIC Package | |
| JA Thermal Impedance |
89.2 °C/W |
| Jc Thermal Impedance |
55.6°C/W |
| Resistance (Input-Output), RI-O |
1012 |
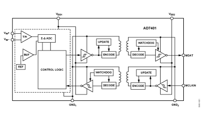
The AD7400/AD7401 are 2nd order sigma-delta modulators that convert an analog input signal into a high speed 1-bit data stream with onboard digital isolation based on Analog Devices' iCoupler® technology. The AD7400/AD7401 operate from a 5 V power supply and accept a differential input signal of ±200 mV. The analog input is continuously sampled by the analog modulator, eliminating the need for external sample and hold circuitry. The input information is contained in the output stream as a density of ones with data rates up to 20MHz. The original information can be reconstructed with an appropriate digital filter. The serial I/O may use a 5V or 3V supply (VDD2).