Features: `6 Independent ADCs`True Bipolar Analog Inputs`Pin/Software Selectable Ranges:- ±10V, ±5V`Fast throughput rate: 250 kSPS`Specified for AVCC of 4.75 V to 5.25 V`Low power160mW at 250 kSPS with 5 V supplies`Wide input bandwidth:85 dB SNR at 50 kHz input frequency`On-chip Reference and Refe...
AD7658: Features: `6 Independent ADCs`True Bipolar Analog Inputs`Pin/Software Selectable Ranges:- ±10V, ±5V`Fast throughput rate: 250 kSPS`Specified for AVCC of 4.75 V to 5.25 V`Low power160mW at 250 kSPS w...
SeekIC Buyer Protection PLUS - newly updated for 2013!
268 Transactions
All payment methods are secure and covered by SeekIC Buyer Protection PLUS.

| Resolution (Bits) | 12bit |
| T-Put Rate | 250kSPS |
| # Chan | 6 |
| Supply V | Multi(±12, +5),Multi(±15, +5) |
| Pwr Diss (max) | 143mW |
| Interface | Par,Ser,SPI |
| Ain Range | Bip (Vref) x 2,Bip (Vref) x 4,Bip 10V,Bip 5.0V |
| SNR (dB) | 73.5dB |
| Pkg Type | QFP |
The AD7658 contains six 12-bit, fast, low power, successive approximation ADCs all in the one package. The AD7658 core operates from a single 4.5 V to 5.5 V power supply and features throughput
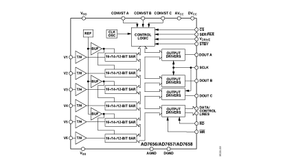
The AD7658/AD7657/AD7656 contain six 12/14/16-bit, fast, low power, successive approximation ADCs all in the one package. The AD7658/AD7657/AD7656 core operates from a single 4.75 V to 5.25 V power supply and features throughput rates up to 250 kSPS. The parts contain low noise, wide bandwidth track-andhold amplifiers that can handle input frequencies up to 8 MHz.
The conversion process and data acquisition are controlled using CONVST signals and an internal oscillator. Three CONVST pins allow independent simultaneous sampling of the three ADC pairs. The AD7658/AD7657/AD7656 have both a high speed parallel and serial interface allowing the devices to interface with microprocessors or DSPs. When in Serial interface mode these parts have a Daisy Chain feature allowing multiple ADCs to connect to a single serial interface. The AD7658/AD7657/AD7656 can accommodate true bipolar input signals in the ±10V range and ±5V range . They contain a 2.5V internal reference and can also accept an external reference. If a 3V external reference is applied to the VREF pin, the ADCs can accommodate a true bipolar ±12V analog input range. VDD and VSS supplies of ±12V are required for this ±12V input range.