Features: +3 V Supply VoltageBaseband Serial Port (BSPORT)Differential IRx and QRxADC ChannelsTwo 15-Bit Sigma-Delta A/D ConvertersFIR Digital Filters64 dB SNROutput Word Rate 270.83 kHzTwos Complement CodingOn-Chip Offset CalibrationPower-Down ModeAuxiliary D/A ConverterAuxiliary Serial Port (ASP...
AD7729: Features: +3 V Supply VoltageBaseband Serial Port (BSPORT)Differential IRx and QRxADC ChannelsTwo 15-Bit Sigma-Delta A/D ConvertersFIR Digital Filters64 dB SNROutput Word Rate 270.83 kHzTwos Complem...
SeekIC Buyer Protection PLUS - newly updated for 2013!
268 Transactions
All payment methods are secure and covered by SeekIC Buyer Protection PLUS.


(TA = +25°C unless otherwise stated)
AVDD, DVDD to GND . . . . . . . . . . . . . . . . . . . . . .0.3 V to +7 V
AGND to DGND . . . . . . . . . . . . . . . . . . . . . . . . 0.3 V to +0.3 V
Digital I/O Voltage to DGND . . . . . . . . 0.3 V to DVDD + 0.3 V
Analog I/O Voltage to AGND . . . . . . . . 0.3 V to AVDD + 0.3 V
Operating Temperature Range
Industrial (A Version) . . . . . . . . . . . . . . . 40°C to +105°C
Storage Temperature Range . . . . . . . . . . .65°C to +150°C
Maximum Junction Temperature . . . . . . . . . . . . . . . . .+150°C
TSSOP
JA Thermal Impedance . . . . . . . . . . . . . . . . . . . +122°C/W
Lead Temperature, Soldering
Vapor Phase (60 sec) . . . . . . . . . . . . . . . . . . . . . . . . . +215°C
Infrared (15 sec) . . . . . . . . . . . . . . . . . . . . . . . . .. .. . +220°C
SOIC
JA Thermal Impedance . . . . . . . . . . . . . . . . . . . .. . +72°C/W
Lead Temperature, Soldering
Vapor Phase (60 sec) . . . . . . . . . . . . . . . . . . . . . . . . .+215°C
Infrared (15 sec) . . . . . . . . . . . . . . . . . . . . . . . . .. . . .+220°C
| Resolution (Bits) | 15bit |
| T-Put Rate | 270.8kSPS |
| # Chan | 2 |
| Supply V | Single(+3) |
| Pwr Diss | 59mW |
| Interface | Ser |
| Ain Range | (2Vref) p-p |
| SNR (dB) | n/a |
| Pkg Type | SOIC,SOP |
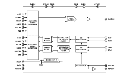
This monolithic 3 V CMOS device is a low power, two-channel, input port with signal conditioning. The receive path is com- posed of two high performance sigma-delta ADCs with digital filtering.
A common bandgap reference feeds the ADCs. A control DAC is included for such functions as AFC. The auxil- iary functions can be accessed via the auxiliary port (ASPORT).
This device AD7729 is available in a 28-lead TSSOP package or a 28-lead SOIC package.