Features: 8-Bit Half-Flash ADC with 420 ns Conversion Time1, 4 and 8 Single-Ended Analog Input Channels Available with Input Offset AdjustOn-Chip Track-and-HoldSNR Performance Given for Input Frequencies Up to 10 MHzOn-Chip Reference (2.5 V)Automatic Power-Down at the End of ConversionWide Operati...
AD7822: Features: 8-Bit Half-Flash ADC with 420 ns Conversion Time1, 4 and 8 Single-Ended Analog Input Channels Available with Input Offset AdjustOn-Chip Track-and-HoldSNR Performance Given for Input Freque...
SeekIC Buyer Protection PLUS - newly updated for 2013!
268 Transactions
All payment methods are secure and covered by SeekIC Buyer Protection PLUS.


| Resolution (Bits) | 8bit |
| T-Put Rate | 2MSPS |
| # Chan | 1 |
| Supply V | Single(+3),Single(+5) |
| Pwr Diss | 60mW |
| Interface | Par |
| Ain Range | 2 V p-p,2.5V p-p |
| SNR (dB) | 48dB |
| Pkg Type | DIP,SOIC,SOP |
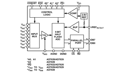
The AD7822, AD7825, and AD7829 are high speed, 1-, 4-, and 8-channel, microprocessor-compatible, 8-bit analog-to-digital converters with a maximum throughput of 2 MSPS. The AD7822, AD7825, and AD7829 contain an on-chip reference of 2.5 V (2% tolerance), a track/hold amplifier, a 420 ns 8-bit half-flash ADC and a high speed parallel interface. The converters can operate from a single 3 V ± 10% and 5 V ± 10% supply.
The AD7822, AD7825, and AD7829 combine the convert start and power-down functions at one pin, i.e., theCONVST pin. This allows a unique automatic power-down at the end of a conversion to be implemented. The logic level on the CONVST pin is sampled after the end of a conversion when anEOC (End of Conversion) signal goes high, and if it is logic low at that point, the ADC is powered down. The AD7822 and AD7825 also have a separate power-down pin. (See Operating Modes section of the data sheet.)
The parallel interface is designed to allow easy interfacing to microprocessors and DSPs. Using only address decoding logic, the parts are easily mapped into the microprocessor address space. TheEOC pulse allows the ADCs to be used in a standalone manner. (See Parallel Interface section of the data sheet.)
The AD7822 and AD7825 are available in a 20-/24-lead 0.3" wide, plastic dual-in-line package (DIP), a 20-/24-lead small outline IC (SOIC) and a 20-/24-lead thin shrink small outline package (TSSOP). The AD7829 is available in a 28-lead 0.6" wide, plastic dual-in-line package (DIP), a 28-lead small outline IC (SOIC) and in a 28-lead thin shrink small outline package (TSSOP).