Features: Two gain settingsGain of ½ (−6 dB)Gain of 2 (+6 dB)0.05% maximum gain error10 ppm maximum gain driftExcellent ac specifications20 V/s minimum slew rate800 ns to 0.01% settling timeLow distortion: 0.004%, 20 Hz to 20 kHzHigh accuracy dc performance77 dB minimum CMRR700 V maxi...
AD8273: Features: Two gain settingsGain of ½ (−6 dB)Gain of 2 (+6 dB)0.05% maximum gain error10 ppm maximum gain driftExcellent ac specifications20 V/s minimum slew rate800 ns to 0.01% settling...
SeekIC Buyer Protection PLUS - newly updated for 2013!
268 Transactions
All payment methods are secure and covered by SeekIC Buyer Protection PLUS.

| Single/Dual Supply | Dual |
| Voltage Supply (Vmax) | +36V |
| Gain Setting Method | Pin |
| Gain Range (min to max) | 1.5 |
| Bandwidth G=10 (kHz typ) | 20000kHz |
| CMRR (dB) | 86dB |
| Vnoise RTI 1-10 Hz Vp-p | 2V p-p |
| Temperature Range | -40 to +125 |
| Supply Current | 2.5mA |
| Parameter | Rating |
| Supply Voltage Output Short-Circuit Current Voltage at Any Input Pin Differential Input Voltage Current into Any Input Pin Storage Temperature Range Specified Temperature Range Thermal Resistance JA JC Package Glass Transition Temperature (TG) |
±18 V Observe derating curve 40 V 40 V 3 mA −65 to +130 −40 to +85 105/W 36/W 150 |
Stresses above those listed under Absolute Maximum Ratings may cause permanent damage to the device. This is a stress rating only; functional operation of the device at these or any other conditions above those indicated in the operational ection of this specification is not implied. Exposure to absolute maximum rating conditions for extended periods may affect evice reliability.
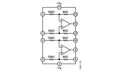
The AD8273 is a low distortion, dual-channel amplifier with internal gain setting resistors. With no external components, it can be configured as a high performance difference amplifier (G = ½ or 2), inverting amplifier (G = ½ or 2), or noninverting amplifier (G = 1½ or 3).
The AD8273 operates on both single and dual supplies and only requires 2.5 mA maximum supply current for each amplifier. It is specified over the industrial temperature range of −40 to +85and is fully RoHS compliant.