Features: High accuracy, high-resolution voltage outputs1 mV channel matching12-bit input resolutionLaser-trimmed outputsFast settling, high voltage drive35 ns settling time to 0.25% into 150 pF loadSlew rate 420 V/sOutputs to within 1.3 V of supply railsHigh update ratesFast, 110 MHz clockProgram...
AD8387: Features: High accuracy, high-resolution voltage outputs1 mV channel matching12-bit input resolutionLaser-trimmed outputsFast settling, high voltage drive35 ns settling time to 0.25% into 150 pF loa...
SeekIC Buyer Protection PLUS - newly updated for 2013!
268 Transactions
All payment methods are secure and covered by SeekIC Buyer Protection PLUS.

| Parameter | Rating |
| Supply Voltages AVCCx − AGNDx DVCC − DGND Input Voltages Maximum Digital Input Voltage Minimum Digital Input Voltage Maximum Analog Input Voltage Minimum Analog Input Voltage Internal Power Dissipation1 TQFP E-Pad @ TA = 25°C Operating Temperature Range Storage Temperature Range Lead Temperature Range (Soldering 10 sec) |
18 V 4.5 V DVCC + 0.5 V DGND − 0.5 V AVCC + 0.5 V AGND − 0.5 V 4.38 W 0°C to 85°C −65°C to +125°C 300°C |
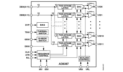
The AD8387 DecDriver provides dual, fast latched, 12-bit decimating input, which drives 12 high voltage outputs.
Twelve-bit input words are loaded into 12 separate high speed, bipolar DACs sequentially. Flexible digital input format llows more than one AD8387 to be used in parallel for higher resolution displays. The output signal can be adjusted or dc reference, signal inversion, and contrast for maximum flexibility.
The AD8387 is fabricated on ADI's fast bipolar, 26 V XFCB process, providing fast input logic, bipolar DACs with rimmed accuracy and fast settling, high voltage, precision drive amplifiers on the same chip.
The AD8387 dissipates 1.34 W nominal static power. The AD8387 is offered in an 80-lead TQFP E-pad package and perates over the commercial temperature range of 0°C to +85°C.