Features: `Voltage feedback`Wide output swing 18.4 V p-p differential, RLOAD = 20 from 12 V supply`High output current`Linear output current of 450 mA peak`Low distortion−65 dBc for Profile 8b @ 20.4 dBm−55 dBc for Profile 17a @ 14.5 dBm`High speed`85 MHz bandwidth (AV DIFF = 5)Applic...
AD8398A: Features: `Voltage feedback`Wide output swing 18.4 V p-p differential, RLOAD = 20 from 12 V supply`High output current`Linear output current of 450 mA peak`Low distortion−65 dBc for Profile 8...
SeekIC Buyer Protection PLUS - newly updated for 2013!
268 Transactions
All payment methods are secure and covered by SeekIC Buyer Protection PLUS.

| Application | ADSL2+,VDSL2 |
| Function | Driver |
| -3 dB BW (MHz) | 85MHz |
| Slew Rate (V/us) | 600V/s |
| Iout Drive (mA) | 0 |
| Distortion (dBc) | -65dBc |
| Spectral Noise (nV/rtHz) | 4.8nV/rtHz |
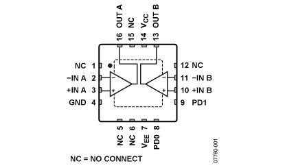
The AD8398A comprises two high-speed voltage feedback operational amplifiers. When configured as a differential line driver, the AD8398A is an ideal choice for ADSL2+, VDSL2, and power line communications (PLC) applications. It has high output current, high bandwidth, and fast slew rate, combined with exceptional MTPR and common-mode stability. The AD8398A is available in a thermally enhanced 4 mm × 4 mm, 16-lead LFCSP.
The AD8398A incorporates power management functionality via two CMOS-compatible control pins, PD0 and PD1.
These pins select one of four operating modes: full power, medium power, low power, or complete power-down. In the power-down mode, the quiescent current drops to 0.7 mA.
The AD8398A operates in the extended industrial temperature range of −40°C to +85°C.