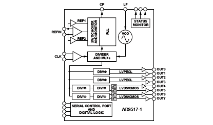
PinoutSpecifications Primary Clock Function Clean Up,Distribution,Generation +Supply Voltage (V) 3.3V Max Input Frequency 2400MHz ...
AD9517-1: PinoutSpecifications Primary Clock Function Clean Up,Distribution,Generation +Supply Voltage (V) 3.3V ...
SeekIC Buyer Protection PLUS - newly updated for 2013!
268 Transactions
All payment methods are secure and covered by SeekIC Buyer Protection PLUS.

| Primary Clock Function | Clean Up,Distribution,Generation |
| +Supply Voltage (V) | 3.3V |
| Max Input Frequency | 2400MHz |
| # of Outputs | 12 |
| Max f-out (MHz) | 2650MHz |
| I/O Interface | Serial |
| Package | 48-LFCSP |
| Output Logic | CMOS,LVDS,LVPECL |
| Product Description | Multi-Output Clock Generator |