Features: 5 V Power Supply50 MHz SpeedOn-Chip COS Look-Up TableOn-Chip 10-Bit DACSerial LoadingPower-Down Option200 mW Power Consumption16-Lead TSSOPApplicationDDS TuningDigital DemodulationPinoutSpecifications Compliance Range (V) 1.35V FS Iout (mA nom) 4mA I Supply total (max) 40...
AD9835: Features: 5 V Power Supply50 MHz SpeedOn-Chip COS Look-Up TableOn-Chip 10-Bit DACSerial LoadingPower-Down Option200 mW Power Consumption16-Lead TSSOPApplicationDDS TuningDigital DemodulationPinoutSp...
SeekIC Buyer Protection PLUS - newly updated for 2013!
268 Transactions
All payment methods are secure and covered by SeekIC Buyer Protection PLUS.

| Compliance Range (V) | 1.35V |
| FS Iout (mA nom) | 4mA |
| I Supply total (max) | 40mA |
| I/O Interface | Serial |
| Master fclk | 50MHz |
| Nominal Supply (V) | Single(+5) |
| On-Board Comparator | No |
| REFCLK Multiplier | No |
| Resolution (Bits) | 10bit |
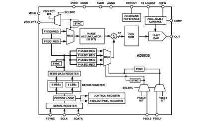
The AD9835 is a numerically controlled oscillator employing a phase accumulator, a COS Look-Up Table and a 10-bit D/A converter integrated on a single CMOS chip. Modulation capabilities are provided for phase modulation and frequency modulation.
Clock rates up to 50 MHz are supported. Frequency accuracy can be controlled to one part in 4 billion. Modulation is ef-fected by loading registers through the serial interface. A power-down bit allows the user to power down the AD9835 when it is not in use, the power consumption being reduced to 1.75mW.The part is available in a 16-lead TSSOP package.