Features: Universal Low Cost Modulator Solution forCommunications ApplicationsDC to 80 MHz Output BandwidthIntegrated 12-Bit D/A ConverterProgrammable Sample Rate Interpolation FilterProgrammable Reference Clock MultiplierInternal SIN(x)/x Compensation Filter>52 dB SFDR @ 40 MHz AOUT>48 dB S...
AD9856: Features: Universal Low Cost Modulator Solution forCommunications ApplicationsDC to 80 MHz Output BandwidthIntegrated 12-Bit D/A ConverterProgrammable Sample Rate Interpolation FilterProgrammable Re...
SeekIC Buyer Protection PLUS - newly updated for 2013!
268 Transactions
All payment methods are secure and covered by SeekIC Buyer Protection PLUS.

| I/O Interface | Parallel |
| Master fclk | 200MHz |
| Resolution (Bits) | 12bit |
| SNR (dB) | n/a |
| Pwr Supply (V) | 2.85 to 3.15 |
| I Supply total (max) | 530mA |
| FS Iout (mA nom) | 10mA |
| Compliance Range (V) | 1.5V |
| REFCLK Multiplier | Yes |
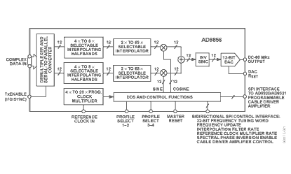
The AD9856 integrates a high speed direct-digital synthesizer (DDS), a high performance, high speed 12-bit digital-to-analog converter (DAC), clock multiplier circuitry, digital filters and other DSP functions onto a single chip, to form a complete quadrature digital upconverter device. The AD9856 is intended to function as a universal I/Q modulator and agile upconverter for communications applications, where cost, size, power dissi- pation and dynamic performance are critical attributes. The AD9856 is available in a space-saving surface mount pack-age and specified to operate over the extended industrial tem- perature range of 40°C to +85°C.