Features: ·40 MSPS Correlated Double Sampler (CDS)·6 dB to 40 dB 10-Bit Variable Gain Amplifier (VGA)·Low Noise Optical Black Clamp Circuit·Preblanking Function·12-Bit 40 MSPS A/D Converter·No Missing Codes Guaranteed·3-Wire Serial Digital Interface·3 V Single-Supply Operation·Low Power: 140 mW @ ...
AD9945: Features: ·40 MSPS Correlated Double Sampler (CDS)·6 dB to 40 dB 10-Bit Variable Gain Amplifier (VGA)·Low Noise Optical Black Clamp Circuit·Preblanking Function·12-Bit 40 MSPS A/D Converter·No Missi...
SeekIC Buyer Protection PLUS - newly updated for 2013!
268 Transactions
All payment methods are secure and covered by SeekIC Buyer Protection PLUS.


| Parameter | With RespectTo |
Min | Max | Unit |
| AVDD DVDD DRVDD Digital Outputs SHP, SHD, DATACLK CLPOB, PBLK SCK, SL, SDATA REFT, REFB, CCDIN Junction Temperature Lead Temperature (10 sec) |
AVSS DVSS DRVSS DRVSS DVSS DVSS DVSS AVSS |
0.3 0.3 0.3 0.3 0.3 0.3 0.3 0.3 |
+3.9 +3.9 +3.9 DRVDD + 0.3 DVDD + 0.3 DVDD + 0.3 DVDD + 0.3 AVDD + 0.3 150 300 |
V V V V V V V V °C °C |
*Stresses above those listed under Absolute Maximum Ratings may cause permanent damage to the device. This is a stress rating only; functional operation of the device at these or any other conditions outside of those indicated in the operational sections of this specification is not implied. Exposure to absolute maximum ratings for extended periods may affect device reliability.
| Aux Inputs | No |
| Input Range (V p-p) | 1V p-p |
| PGA Range (dB) | 0 to 34 |
| Power Dissipation (mW) | 140mW |
| Resolution (Bits) | 12bit |
| Sample Rate (MSPS) | 40MSPS |
| SNR (dB) | 76dB |
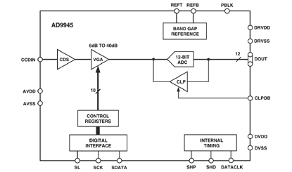
The AD9945 is a complete analog signal processor for CCD applications. It features a 40 MHz single-channel architecture designed to sample and condition the outputs of interlaced and progressive scan area CCD arrays. The AD9945's signal chain consists of a correlated double sampler (CDS), a digitally controlled variable gain amplifier (VGA), a black level clamp, and a 12-bit A/D converter.
The internal registers are programmed through a 3-wire serial digital interface. Programmable features include gain adjustment, black level adjustment, input clock polarity, and power-down modes.
The AD9945 operates from a single 3 V power supply, typically dissipates 140 mW, and is packaged in a space-saving 32-lead LFCSP.