Features: High Accuracy, supports IEC 687/1036 Compatible with 3-phase/3-wire, 3-phase/4-wire and any type of 3-phase services Less than 0.1% error over a dynamic range of 500 to 1 The ADE7754 supplies Active Energy, Apparent Energy, Voltage rms, Current rms and Sampled Waveform Data.Digital Power...
ADE7754: Features: High Accuracy, supports IEC 687/1036 Compatible with 3-phase/3-wire, 3-phase/4-wire and any type of 3-phase services Less than 0.1% error over a dynamic range of 500 to 1 The ADE7754 suppl...
SeekIC Buyer Protection PLUS - newly updated for 2013!
268 Transactions
All payment methods are secure and covered by SeekIC Buyer Protection PLUS.
High Accuracy, supports IEC 687/1036 Compatible with 3-phase/3-wire, 3-phase/4-wire and any type of 3-phase services Less than 0.1% error over a dynamic range of 500 to 1 The ADE7754 supplies Active Energy, Apparent Energy, Voltage rms, Current rms and Sampled Waveform Data.
Digital Power, Phase & Input Offset Calibration.
An On-Chip temperature sensor (±3 typ. after calibration) On-Chip user Programmable thresholds for line voltage SAG and overdrive detections.
A SPI compatible Serial Interface with Interrupt Request line (IRQ).
A pulse output with programmable frequency Proprietary ADCs and DSP provide high accuracy over large variations in environmental conditions and time.
Reference 2.5V±8% (Drift 30 ppm/ typical) with external overdrive capability Single 5V Supply, Low power (15mW typical)

| Meter Type | Polyphase |
| Supply Current | 5mA |
| Package | 24-Lead SOIC |
| Active Energy Accuracy | 0.1% over 1000:1 @25°C |
| Active Energy Bandwidth | 14kHz |
| IRMS Accuracy | 0.5% over 200:1 |
| VRMS Accuracy | 0.5% over 20:1 |
| Analog input range | +/-32mV to +/- 500mV peak |
| Power Consumption | 70mW Typical |
| Reference Tempco | 30ppm/°C Typical |
(TA = +25 unless otherwise noted)
AVDD to AGND . . . . . . . . . . . . . . . . . . . . . 0.3V to +7V
DVDD to DGND . . . . . . . . . . . . . . . . . . . . .0.3V to +7V
DVDD to AVDD . . . . . . . . . . . . . . . . . . . 0.3V to +0.3V
Analog Input Voltage to AGND
IAP,IAN,IBP,IBN,ICP,ICN,VAP,VBP,VCP,VN . 6V to +6V
Reference Input Voltage to AGND 0.3V to AVDD+0.3V
Digital Input Voltage to DGND . 0.3V to DVDD+0.3V
Digital Output Voltage to DGND 0.3V to DVDD+0.3V
Operating Temperature Range
Industrial . . . . . . . . . . . . . . . . . . . . . . 40 to +85
Storage Temperature Range . . . . . . 65 to +150
Junction Temperature . . . . . . . . . . . . . . . . . . . +150
24-Lead SOIC, Power Dissipation . . . . . . . . .TBD mW
JA Thermal Impedance . . . . . . . . . . . . . . . . . 53/W
Lead Temperature, Soldering
Vapor Phase (60 sec) . . . . . . . . . . . . . . . . . . .+215
Infrared (15 sec) . . . . . . . . . . . . . . . . . . . . . . +220
*Stresses above those listed under Absolute Maximum Ratings may cause permanent damage to the device. This is a stress rating only; functional operation of the device at these or any other conditions above those listed in the operational sections of this specification is not implied. Exposure to absolute maximum rating conditions for extended periods may affect device reliability.
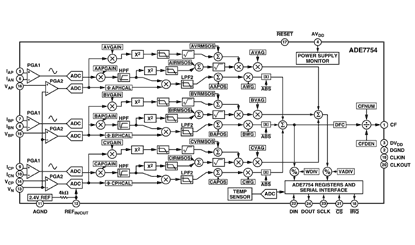
The ADE7754 is a high accuracy three-phase electrical energy measurement IC with a serial interface and a pulse output. The ADE7754 incorporates second order sigmadelta ADCs, reference circuitry, temperature sensor, and all the signal processing required to perform Active Energy measurement, Apparent Energy measurement and rms calculation.
The ADE7754 provides different solutions to measure Active and Apparent Energy from the six analog inputs thus enabling the use of the ADE7754 in various Power meter services as 3-phase 4-wire, 3-phase 3-wire but also 4-wire delta.
In addition to RMS calculation, Real and Apparent power informations, the ADE7754 provides system calibration features for each phase, i.e., channel offset correction, phase calibration and power calibration. The CF logic output gives instantaneous real power information.
The ADE7754 has a waveform sample register which enables access to ADC outputs. The part also incorporates a detection circuit for short duration low or high voltage variations.
The voltage threshold levels and the duration (no. of half line cycles) of the variation are user programmable.
A zero crossing detection is synchronized which the zero crossing point of the line voltage of each of the three phases.
This information is used to measure each line's Period. It is also used internally to the chip in the Line Active Energy and Line Apparent Energy accumulation modes. This permits faster and more accurate calibration of the power calculations.
This signal is also useful for synchronization of relay switching.
Data is read from the ADE7754 via the SPI serial interface.
The interrupt request output (IRQ) is an open drain, active low logic output. TheIRQ output will go active low when one or more interrupt events have occurred in the ADE7754. A status register will indicate the nature of the interrupt.
The ADE7754 is available in a 24-lead SOIC package.