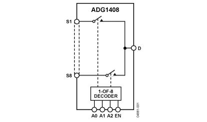
Features: 5Ω Max On Resistance 0.5Ω Max On Resistance Flatness 33 V Supply Maximum Ratings Fully specified at ±15V/12V/±5V 3V Logic Compatible Inputs Rail-to-Rail Operation Break-Before-Make Switching Action 16-Lead TSSOP Packages Typical Power Consumption (< 0.03 µW)Applicati...
ADG1408: Features: 5Ω Max On Resistance 0.5Ω Max On Resistance Flatness 33 V Supply Maximum Ratings Fully specified at ±15V/12V/±5V 3V Logic Compatible Inputs Rail-to-Rail Operation Break-Before-...
SeekIC Buyer Protection PLUS - newly updated for 2013!
268 Transactions
All payment methods are secure and covered by SeekIC Buyer Protection PLUS.


| Sw/Mx Function x # | (8:1) x 1 |
| Interface Type | Parallel |
| Available Packages | CSP,SOP |
| Max Analog Signal Range | Vss to Vdd |
| Ron (Ohms) | 4Ohms |
| Ron Match (Ohms) | 0.2Ohms |
| Cs (OFF) | 14pF |
| Cs, Cd (ON) | 135pF |
| Off Isolation (-dB) | -70dB |
| Bandwidth | 60MHz |