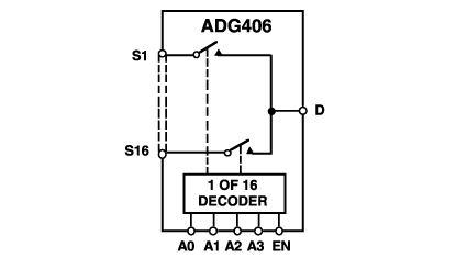
Features: 44 V Supply Maximum RatingsVSS to VDD Analog Signal RangeLow On Resistance (80 Ω max)Low PowerFast SwitchingtON < 160 nstOFF < 150 nsBreak Before Make Switching ActionPlug-In Upgrade for DG506A/ADG506A, DG507A/ADG507A, DG526/ADG526AADG406/ADG407 are Plug-In Replacements for D...
ADG406: Features: 44 V Supply Maximum RatingsVSS to VDD Analog Signal RangeLow On Resistance (80 Ω max)Low PowerFast SwitchingtON < 160 nstOFF < 150 nsBreak Before Make Switching ActionPlug-In U...
SeekIC Buyer Protection PLUS - newly updated for 2013!
268 Transactions
All payment methods are secure and covered by SeekIC Buyer Protection PLUS.


| Sw/Mx Function x # | (16:1) x 1 |
| Interface Type | Parallel |
| Available Packages | DIP,LCC |
| Max Analog Signal Range | Vss to Vdd |
| Ron (Ohms) | 50Ohms |
| Ron Match (Ohms) | 4Ohms |
| Cs (OFF) | 5pF |
| Cs, Cd (ON) | 60pF |
| Off Isolation (-dB) | 75dB |
| Bandwidth | n/a |