Features: Single 5 V power supply Meets all EIA-232-E and V.28 specifications 120 kbps data rate On-board dc-to-dc converters ±9 V output swing with 5 V supply Small 1 µF capacitors Low power shutdown 1 µA ±30 V receiver input levels Latch-up freeApplicationComputersPeripheralsModemsP...
ADM239L: Features: Single 5 V power supply Meets all EIA-232-E and V.28 specifications 120 kbps data rate On-board dc-to-dc converters ±9 V output swing with 5 V supply Small 1 µF capacitors Low power...
SeekIC Buyer Protection PLUS - newly updated for 2013!
268 Transactions
All payment methods are secure and covered by SeekIC Buyer Protection PLUS.


| Protocols | RS-232 |
| Pwr Supply (Vnom) | +5 & +12 |
| #Tx | 3 |
| # Rx | 5 |
| Data Rate | 120kbps |
| Low Power Shutdown | N |
| Operating Temp Range | -40 to +85 |
| Parameter | Rating |
| VCC V+ V Input Voltages TIN RIN Output Voltages TOUT ROUT Short-Circuit Duration TOUT Power Dissipation N-14 PDIP (Derate 10 mW/°C above 70°C) N-16 PDIP (Derate 10.5 mW/°C above 70°C) N-20 PDIP (Derate 11 mW/°C above 70°C) N-24-1 PDIP (Derate 13.5 mW/°C above 70°C) R-16 SOIC (Derate 9 mW/°C above 70°C) R-24 SOIC (Derate 12 mW/°C above 70°C) R-28 SOIC (Derate 12.5 mW/°C above 70°C) RS-28 SSOP (Derate 10 mW/°C above 70°C) |
0.3 V to +6 V |
The ADM2xx family of line drivers/receivers is intended for all EIA-232-E and V.28 communications interfaces, especially in applications in which 12 V is not available. The ADM2xx feature a low power shutdown mode that reduces power dissipation to less than 5 µW, making them ideally suited for battery-powered equipment. The ADM233L does not require any external components and is particularly useful in applications where printed circuit board space is critical.
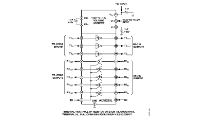
All members of the ADM2xxL family, except the ADM231L and ADM239L, include two internal charge pump voltage converters that allow operation from a single 5 V supply. These parts convert the 5 V input power to the ±10 V required for RS-232 outputlevels. The ADM231L and ADM239L are designed to operate from 5 V and 12 V supplies. An internal +12 V to −12 V charge pump voltage converter generates the −12 V supply.
The ADM2xxL is an enhanced upgrade to the AD2xx family. It features lower power consumption, faster slew rate, and the ability to operate with smaller (1 µF) capacitors.