Features: `ADT7316 - Four 12-Bit DACs`ADT7317 - Four 10-Bit DACs`ADT7318 - Four 8-Bit DACs`Buffered Voltage Output`Guaranteed Monotonic By Design Over All Codes`10-Bit Temperature to Digital Converter`Temperature range: -40oC to +125oC`Temperature Sensor Accuracy of ±0.5oC`Supply Range : + 2.7 V t...
ADT7317: Features: `ADT7316 - Four 12-Bit DACs`ADT7317 - Four 10-Bit DACs`ADT7318 - Four 8-Bit DACs`Buffered Voltage Output`Guaranteed Monotonic By Design Over All Codes`10-Bit Temperature to Digital Convert...
SeekIC Buyer Protection PLUS - newly updated for 2013!
268 Transactions
All payment methods are secure and covered by SeekIC Buyer Protection PLUS.

| Output Type | Digital |
| Sensor Output | DSP Serial,I2C ?,MICROWIRE (TM),QSPI (TM),SMBus,SPI (TM) |
| Temp Res(°C/LSB) | 0.25°C/LSB |
| Supply Voltage Range | +2.7V to +5.5V |
| Temp Range(s) | -40 to +120 |
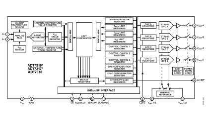
The ADT7316/7317/7318 combines a 10-Bit Temperature- to-Digital Converter and a quad 12/10/8-Bit DAC respectively, in a 16-Lead QSOP package. This includes a bandgap temperature sensor and a 10-bit ADC to monitor and digitize the temperature reading to a resolution of 0.25oC. The ADT7316/17/18 operates from a single +2.7V to +5.5V supply. The output voltage of the DAC ranges from 0 V to 2VREF , with an output voltage settling time of typ 7 msec. The ADT7316/17/18 provides two serial interface options, a four-wire serial interface which is compatible with SPITM, QSPITM, MICROWIRETM and DSP interface standards; and a two-wire I2C interface. It features a standby mode that is controlled via the serial interface.
The reference for the four DACs is derived either internally or from two reference pins (one per DAC pair) .The outputs of all DACs may be updated simultaneously using the software LDAC function or external LDAC pin. The ADT7316/7317/7318 incorporates a power-on-reset circuit, which ensures that the DAC output powers-up to zero volts and it remains there until a valid write takes place.
The ADT7316/7317/7318's wide supply voltage range, low supply current and SPI/I2C-compatible interface, make it ideal for a variety of applications, including personal computers, office equipment and domestic appliances.