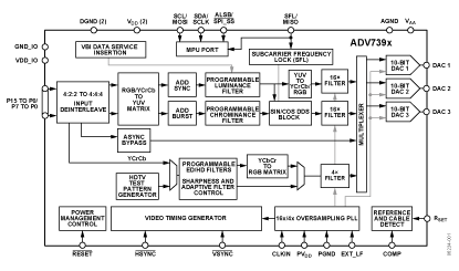
Features: 3 high quality, 10-bit video DACs16× (216 MHz) DAC oversampling for SD8× (216 MHz) DAC oversampling for ED4× (297 MHz) DAC oversampling for HD37 mA maximum DAC output currentMultiformat video input support4:2:2 YCrCb (SD, ED, and HD)4:4:4 RGB (SD)Multiformat video output supportComposite...
ADV7390: Features: 3 high quality, 10-bit video DACs16× (216 MHz) DAC oversampling for SD8× (216 MHz) DAC oversampling for ED4× (297 MHz) DAC oversampling for HD37 mA maximum DAC output currentMultiformat vi...
SeekIC Buyer Protection PLUS - newly updated for 2013!
268 Transactions
All payment methods are secure and covered by SeekIC Buyer Protection PLUS.

| # DAC | 3 |
| Resolution (Bits) | 10bit |
| Input Data Resolution | 8bit |
| Max Oversampling (MHz) | 297MHz |
| Standard Definition | X |
| Prog Scan | X |
| HDTV | X |
| Component RGB/YPbPr | X |
| CVBS/S-Video | X |