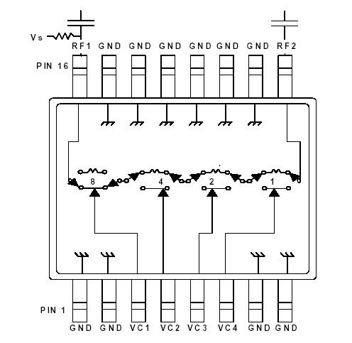
Features: • Single Control CMOS logic for each bit• Attenuation: 1 dB steps to 15 dB• Low DC Power Consumtion: 50 uW• Low Cost Plastic TSSOP - 16 PackagePinoutSpecifications Parameter Maximum Ratings Maximum Input Power 50 MHz 500 - 2000 MHzControl VoltageOpera...
AT-226: Features: • Single Control CMOS logic for each bit• Attenuation: 1 dB steps to 15 dB• Low DC Power Consumtion: 50 uW• Low Cost Plastic TSSOP - 16 PackagePinoutSpecifications ...
SeekIC Buyer Protection PLUS - newly updated for 2013!
268 Transactions
All payment methods are secure and covered by SeekIC Buyer Protection PLUS.


|
Parameter |
Maximum Ratings |
| Maximum Input Power 50 MHz 500 - 2000 MHz Control Voltage Operating Temperature Storage Temperature |
+27 dBm +34 dBm +8 V, -1.0 V -40°C to +85°C -65°C to +150ºC |