Features: •Low-voltage and Standard-voltage Operation, VCC= 2.7V to 5.5V•Internally Organized 16,384 x 8 and 32,768 x 8•2-wire Serial Interface•Schmitt Trigger, Filtered Inputs for Noise Suppression•Bi-directional Data Transfer Protocol •1 MHz (5V) and 400 kHz (...
AT24C256SC: Features: •Low-voltage and Standard-voltage Operation, VCC= 2.7V to 5.5V•Internally Organized 16,384 x 8 and 32,768 x 8•2-wire Serial Interface•Schmitt Trigger, Filtered Inpu...
SeekIC Buyer Protection PLUS - newly updated for 2013!
268 Transactions
All payment methods are secure and covered by SeekIC Buyer Protection PLUS.

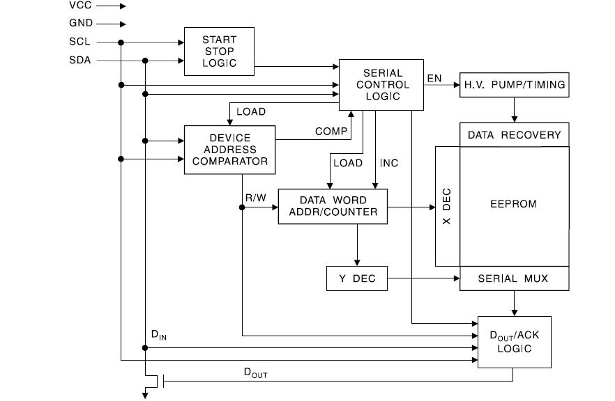
Pin Description
SERIAL CLOCK (SCL): The SCL input is used to positive edge clock data into each EEPROM device and negative edge clock data out of each device.
SERIAL DATA (SDA): The SDA pin is bidirectional for serial data transfer. This pin is open-drain driven and may be wire-ORed with any number of other open-drain or opencollector devices.
Operating Temperature.....................................−55°C to +125°C
Storage Temperature........................................−65°C to +150°C
Voltage on Any Pin
with Respect to Ground........................................−1.0V to +7.0V
Maximum Operating Voltage................................................6.25V
DC Output Current..............................................................5.0mA