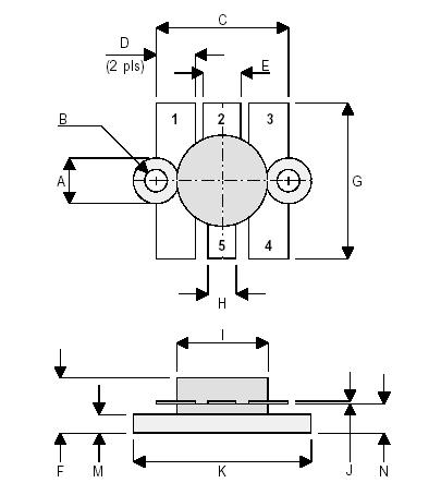
Features: • SIMPLIFIED AMPLIFIER DESIGN• SUITABLE FOR BROAD BAND APPLICATIONS• LOW Crss• SIMPLE BIAS CIRCUITS• LOW NOISE• HIGH GAIN 16 dB MINIMUMApplication• HF/VHF COMMUNICATIONS from 1 MHz to 175 MHzPinoutSpecifications PD Power Dissipation 117...
D1004UK: Features: • SIMPLIFIED AMPLIFIER DESIGN• SUITABLE FOR BROAD BAND APPLICATIONS• LOW Crss• SIMPLE BIAS CIRCUITS• LOW NOISE• HIGH GAIN 16 dB MINIMUMApplication̶...
SeekIC Buyer Protection PLUS - newly updated for 2013!
268 Transactions
All payment methods are secure and covered by SeekIC Buyer Protection PLUS.

| PD | Power Dissipation | 117W |
| BVDSS | Drain-source breakdown voltage | 70V |
| BVGSS | Gate-source breakdown voltage | ±20V |
| ID(sat) | Drain Current | 15A |
| Tstg | Storage temperature | -65 to 150°C |
| Tj | Maximum operating junction temperature | 200°C |