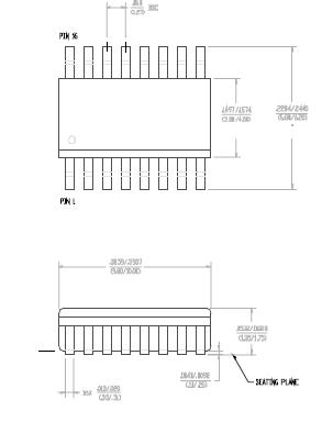
Features: • Small Size, Low Profile• Superior Repeatability (Lot-to-Lot Variation)• Industry Standard SOIC-16 SMT Plastic Package• Typical Isolation: 28 dB• Typical Insertion Loss: 0.7 dB• Low Cost• 1 Watt Power HandlingPinoutSpecifications Paramete...
DS55-0003: Features: • Small Size, Low Profile• Superior Repeatability (Lot-to-Lot Variation)• Industry Standard SOIC-16 SMT Plastic Package• Typical Isolation: 28 dB• Typical Ins...
SeekIC Buyer Protection PLUS - newly updated for 2013!
268 Transactions
All payment methods are secure and covered by SeekIC Buyer Protection PLUS.
US $123.26 - 140.07 / Piece
Linear and Switching Power Supplies 12V Out 550W 1UX2UX11" w/Rev Air

| Parameter | Absolute Maximum |
| Input Power2 Operating Temperature Storage Temperature |
1 W CW -40°C to +85°C -65°C to +150°C |
M/A-COM's DS55-0003 is an IC-based monolithic power divider using M/A-COM's GMIC technology in a low cost SOIC-16 plastic package. This 5-way power divider is ideally suited for applications where PCB real estate is at a premium and part count reduction and cost are critical. Typical applications include base station switching networks and other cellular equipment, including subscriber units. Available in tape and reel.
The DS55-0003 is fabricated using a passive-integrated circuit process. The process features full-chip passivation for increased performance and reliability.