HD74HC14

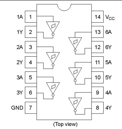
Features: * High Speed Operation: tpd = 10.5 ns typ (CL = 50 pF)* High Output Current: Fanout of 10 LSTTL Loads* Wide Operating Voltage: VCC = 2 to 6 V* Low Input Current: 1 A max* Low Quiescent Supply Current: ICC (static) = 1 A max (Ta = 25)Pinout

product image

HD74HC14 Picture
SeekIC No. : 004360629 Detail

HD74HC14: Features: * High Speed Operation: tpd = 10.5 ns typ (CL = 50 pF)* High Output Current: Fanout of 10 LSTTL Loads* Wide Operating Voltage: VCC = 2 to 6 V* Low Input Current: 1 A max* Low Quiescent Sup...

floor Price/Ceiling Price

Part Number:
HD74HC14
Supply Ability:
5000

Price Break

  • Qty
  • 1~5000
  • Unit Price
  • Negotiable
  • Processing time
  • 15 Days
Total Cost: $ 0.00

SeekIC Buyer Protection PLUS - newly updated for 2013!

  • Escrow Protection.
  • Guaranteed refunds.
  • Secure payments.
  • Learn more >>

Month Sales

268 Transactions

Rating

evaluate  (4.8 stars)

Upload time: 2026/1/20

Payment Methods

All payment methods are secure and covered by SeekIC Buyer Protection PLUS.

Notice: When you place an order, your payment is made to SeekIC and not to your seller. SeekIC only pays the seller after confirming you have received your order. We will also never share your payment details with your seller.
Product Details

Description



Features:

*  High Speed Operation:  tpd = 10.5 ns typ (CL = 50 pF)
*  High Output Current:  Fanout of 10 LSTTL Loads
*  Wide Operating Voltage:  VCC = 2 to 6 V
*  Low Input Current:  1 A max
*  Low Quiescent Supply Current:  ICC (static) = 1 A max (Ta = 25)



Pinout

  Connection Diagram


Customers Who Bought This Item Also Bought

Margin,quality,low-cost products with low minimum orders. Secure your online payments with SeekIC Buyer Protection.
Fans, Thermal Management
Cables, Wires - Management
Tapes, Adhesives
803
Memory Cards, Modules
Motors, Solenoids, Driver Boards/Modules
Potentiometers, Variable Resistors
View more