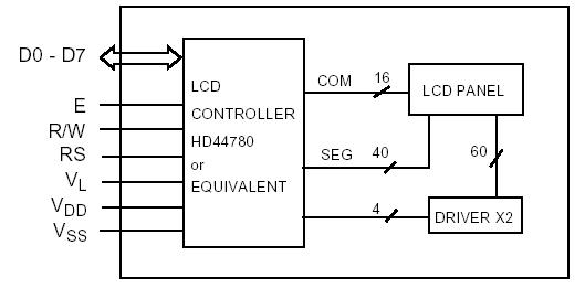
Features: Character Format .......................................5x7 Dots with CursorBacklight....................................................................EL OptionalOptions....TN/Gray STN/Yellow STN, 12 o'Clock/6 o'Clock ViewNormal/Extended TemperatureNormal/Negative DisplaysPinoutSpecifi...
HDM20416H: Features: Character Format .......................................5x7 Dots with CursorBacklight....................................................................EL OptionalOptions....TN/Gray STN/Y...
SeekIC Buyer Protection PLUS - newly updated for 2013!
268 Transactions
All payment methods are secure and covered by SeekIC Buyer Protection PLUS.
Features: Character Format .......................................5x7 Dots with CursorBacklight......
US $6.52 - 8.58 / Piece
LCD Character Display Modules & Accessories Gray Reflective
Features: `Character Format .......................................5x7 Dots with Cursor`Backlight....

| PARAMETER | SYMBOL | MIN | MAX | UNIT |
| SUPPLY VOLTAGE | VDD-VSS | 0 | 7.0 | V |
| SUPPLY VOLTAGE FOR LCD | VDD-VL | 0 | 13.5 | V |
| INPUT VOLTAGE | VIN | VSS | VDD | V |
| OPERATING TEMPERATURE | TOP | 0 | 50 | °C |
| STORAGE TEMPERATURE | TSTG | -20 | 70 | °C |