Features: `High Output Current:High Speed Buffers .....................................................................250 mA minLow Power Buffers .....................................................................150 mA min`Slew Rate: High Speed Buffers ............................................
LMC6008: Features: `High Output Current:High Speed Buffers .....................................................................250 mA minLow Power Buffers ......................................................
SeekIC Buyer Protection PLUS - newly updated for 2013!
268 Transactions
All payment methods are secure and covered by SeekIC Buyer Protection PLUS.
US $7.52 - 10.67 / Piece
Operational Amplifiers - Op Amps ULTRA ULTRA-LOW INPUT CURRENT AMP

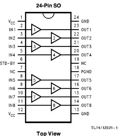
The LMC6008 octal buffer is designed specifically to buffer
the multi-level voltages going to the inputs of the integrated circuits. The LMC6008 AC characteristics, including settling time, are specified for a capacitive load of 0.1 mF for this reason.
The LMC6008 contains 4 high-speed buffers and 4 lowpower buffers.
The high-speed buffers can provide an output current of at least 250 mA (minimum), and the low-power buffers can provide at least 150 mA (minimum). By including the 2 types of buffers, the LMC6008 is able to provide this function while consuming a supply current of only 6.5 mA (maximum). The buffers are a rail-to-rail design, which typically swing to within 30 mV of either supply.
The LMC6008 also contains a standby function which puts the buffer into a high-impedance mode. The supply current in the standby mode is a low 500 mA max. Also, a thermal limit circuit is included to protect the device from overload conditions.