PinoutSpecificationsMax Data Rate1485 MbpsSupplyVoltage3.3 VoltOtherSupply Voltage2.5Reclocked Loop ThroughYesExternal VCO RequiredNoInput Jitter Tolerance0.6 UIParallel Interface5-bit LVDSDVB-ASI CompatibleYesPower Consumption_550 mWTemperature Min-40 deg CTemperature Max85 deg CSupply Current106...
LMH0041: PinoutSpecificationsMax Data Rate1485 MbpsSupplyVoltage3.3 VoltOtherSupply Voltage2.5Reclocked Loop ThroughYesExternal VCO RequiredNoInput Jitter Tolerance0.6 UIParallel Interface5-bit LVDSDVB-ASI C...
SeekIC Buyer Protection PLUS - newly updated for 2013!
268 Transactions
All payment methods are secure and covered by SeekIC Buyer Protection PLUS.
US $2.66 - 4.15 / Piece
Display Drivers & Controllers Serial Digital Cable Driver

| Max Data Rate | 1485 Mbps |
| SupplyVoltage | 3.3 Volt |
| OtherSupply Voltage | 2.5 |
| Reclocked Loop Through | Yes |
| External VCO Required | No |
| Input Jitter Tolerance | 0.6 UI |
| Parallel Interface | 5-bit LVDS |
| DVB-ASI Compatible | Yes |
| Power Consumption_ | 550 mW |
| Temperature Min | -40 deg C |
| Temperature Max | 85 deg C |
| Supply Current | 106 mA |
| Output Swing | 0.8 Volt |
| Function | Deserializer |
| View Using Catalog | |
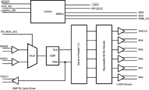
The LMH0041 SDI Deserializers are part of National's family of FPGA-Attach SER/DES products supporting 5-bit LVDS interfaces with FPGAs. When paired with a host FPGA the LMH0341 automatically detects the incoming data rate and decodes the raw 5-bit data words compliant to any of the following standards: DVB-ASI, SMPTE 259M, SMPTE 292M, or SMPTE 424M. See
The interface between the LMH0341 and the host FPGA consists of a 5-bit wide LVDS bus, an LVDS clock and an SMBus interface. No external VCOs or clocks are required. The LMH0341 CDR detects the frequency from the incoming data stream, generates a clean clock and transmits both clock and data to the host FPGA. The LMH0041, LMH0041 and LMH0071 include a serial reclocked loopthrough with integrated SMPTE compliant cable driver. Refer to table 1 for a complete listing of single channel deserializers offered in this family.
The FPGA-Attach SER/DES product family is supported by a suite of IP which allows the design engineer to quickly develop video applications using the SER/DES products. The product is packaged in a physically small 48 pin LLP package.