Features: · 300 mW total power dissipation· Very small 1.6 mm×1.2 mm× 0.55 mm ultra thin package· Reduces number of components as replacement of two SC-75/SC-89 packaged transistors· Reduces required board space· Reduces pick and place costs· Self alignment during soldering due to straight leads.A...
PEMD48: Features: · 300 mW total power dissipation· Very small 1.6 mm×1.2 mm× 0.55 mm ultra thin package· Reduces number of components as replacement of two SC-75/SC-89 packaged transistors· Reduces require...
SeekIC Buyer Protection PLUS - newly updated for 2013!
268 Transactions
All payment methods are secure and covered by SeekIC Buyer Protection PLUS.
US $.02 - .03 / Piece
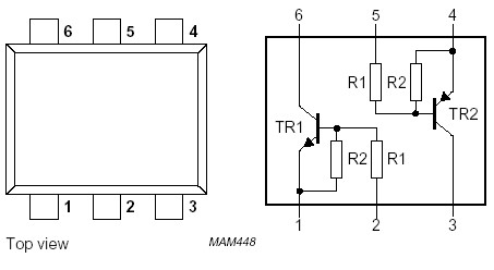
Transistors Switching (Resistor Biased) TRNS DOUBL RET TAPE7

| SYMBOL | PARAMETER |
CONDITIONS |
MIN. |
MAX. |
UNIT |
| Per transistor; for the PNP transistor with negative polarity | |||||
| VCBO | collector-base voltage |
open emitter |
- |
50 |
V |
| VCEO | collector-emitter voltage |
open base |
- |
50 |
V |
| VEBO | emitter-base voltage |
open collector |
- |
10 |
V |
| Vi | input voltage TR1 positive negative |
- - - - |
+40 -10 +5 -12 |
V V V V | |
| input voltage TR2 positive negative |
|||||
| IO | collector current (DC) |
- |
-100 |
mA | |
| ICM | peak base current |
- |
100 |
mA | |
| Ptot | total power dissipation |
Tamb 25 °C; note 1 |
- |
200 |
mW |
| Tstg | storage temperature |
-65 |
+150 |
°C | |
| Tj | junction temperature |
- |
150 |
°C | |
| Tamb | operating ambient temperature |
-65 |
+150 |
°C | |
| Per device | |||||
| Ptot | total power dissipation |
Tamb25 °C; note 1 |
- |
300 |
mW |