Features: · 300 mW total power dissipation· Very small 1.6 ´ 1.2 mm ultra thin package· Self alignment during soldering due to straight leads· Replaces two SC-75/SC-89 packaged transistors on same PCB area· Reduces required PCB area· Reduced pick and place costs.Application· General purpose ...
PEMH2: Features: · 300 mW total power dissipation· Very small 1.6 ´ 1.2 mm ultra thin package· Self alignment during soldering due to straight leads· Replaces two SC-75/SC-89 packaged transistors on ...
SeekIC Buyer Protection PLUS - newly updated for 2013!
268 Transactions
All payment methods are secure and covered by SeekIC Buyer Protection PLUS.
US $.02 - .03 / Piece
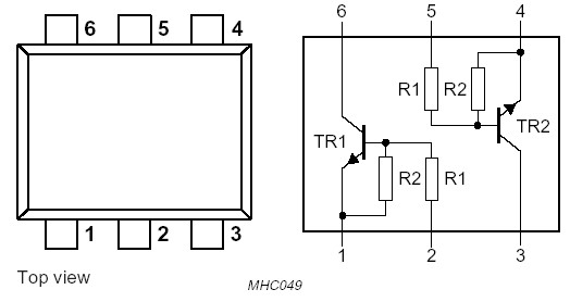
Transistors Switching (Resistor Biased) 50V 200mW NPN/PNP resistor-equip trans
US $.02 - .03 / Piece
Transistors Switching (Resistor Biased) TRNS DOUBL RET TAPE7

| SYMBOL | PARAMETER | CONDITIONS | MIN. | MAX. | UNIT |
| Per transistor | |||||
| VCBO | collector-base voltage |
open emitter |
- |
50 |
V |
| VCEO | collector-emitter voltage |
open base |
- |
50 |
V |
| VEBO | emitter-base voltage |
open collector |
- |
10 |
V |
| Vi | input voltage positive negative |
- - |
+40 -10 |
V V | |
| IC | collector current (DC) |
- |
100 |
mA | |
| ICM | peak collector current |
- |
100 |
mA | |
| Ptot | total power dissipation |
Tamb 25 °C; note 1 |
- |
200 |
mW |
| Tstg | storage temperature |
-65 |
+150 |
°C | |
| Tj | junction temperature |
- |
150 |
°C | |
| Tamb | operating ambient temperature |
-65 |
+150 |
°C | |
| Per device | |||||
| Ptot | total power dissipation |
Tamb 25 °C; note 1 |
- |
300 |
mW |