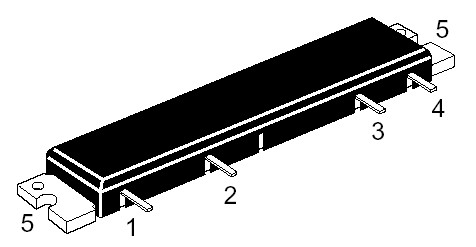
Features: ` Low power control current: 0.9 mA Typ` High speed switching: 1.5 sec Typ` Wide power control range: 100 dB TypApplicationFor GSM CLASS2 890 to 915 MHzPinoutSpecifications Item Symbol Rating Unit Supply voltage VDD 17 V Supply current IDD 6 A APC voltage VAP...
PF0121: Features: ` Low power control current: 0.9 mA Typ` High speed switching: 1.5 sec Typ` Wide power control range: 100 dB TypApplicationFor GSM CLASS2 890 to 915 MHzPinoutSpecifications Item Sym...
SeekIC Buyer Protection PLUS - newly updated for 2013!
268 Transactions
All payment methods are secure and covered by SeekIC Buyer Protection PLUS.

| Item | Symbol | Rating | Unit |
| Supply voltage | VDD | 17 | V |
| Supply current | IDD | 6 | A |
| APC voltage | VAPC | 8 | V |
| Input power | Pin | 20 | mW |
| Operating case temperature | Tc (op) | 30 to +110 | °C |
| Storage temperature | Tstg | 30 to +110 | °C |