PinoutSpecifications SYMBOL PARAMETER CONDITIONS MIN. MAX. UNIT VDSVDGR±VGSIDIDIDMPtotTstg, Tj Drain-source voltageDrain-gate voltageGate-source voltage Drain current (DC) Drain current (DC) Drain current (pulse peak value)Total power dissipationStorage & operati...
PHB45N03T: PinoutSpecifications SYMBOL PARAMETER CONDITIONS MIN. MAX. UNIT VDSVDGR±VGSIDIDIDMPtotTstg, Tj Drain-source voltageDrain-gate voltageGate-source voltage Drain current (DC)...
SeekIC Buyer Protection PLUS - newly updated for 2013!
268 Transactions
All payment methods are secure and covered by SeekIC Buyer Protection PLUS.
Features: • 'Trench' technology• Very low on-state resistance• Fast switching...
Features: • 'Trench' technology• Very low on-state resistance• Fast switching...

| SYMBOL | PARAMETER | CONDITIONS | MIN. | MAX. | UNIT |
| VDS VDGR ±VGS ID ID IDM Ptot Tstg, Tj |
Drain-source voltage Drain-gate voltage Gate-source voltage Drain current (DC) Drain current (DC) Drain current (pulse peak value) Total power dissipation Storage & operating temperature |
- RGS = 20 k - Tmb = 25 Tmb = 100 Tmb = 25 Tmb = 25 - |
- - - - - - - - 55 |
30 30 20 45 36 180 86 175 |
V V V A A A W |
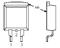
N-channel enhancement mode standard level field-effect power transistor in a plastic suitable for surface mounting envelope using 'trench' technology. The PHB45N03T features very low on-state resistance and has integral zener diodes giving ESD protection up to 2kV. It is intended for use in DC-DC converters and general purpose switching applications. PINNING - SOT404