Features: SONET/SDH INTERFACE• Interface rate software selectable between OC-3/STM-1 (155.52 Mbit/s) and OC-12/STM-4 (622.08 Mbit/s) rates• Integrated clock recovery & synthesis allows direct interface to low-cost optical transceivers• Integrated clock synthesis generates lin...
PM5319: Features: SONET/SDH INTERFACE• Interface rate software selectable between OC-3/STM-1 (155.52 Mbit/s) and OC-12/STM-4 (622.08 Mbit/s) rates• Integrated clock recovery & synthesis allo...
SeekIC Buyer Protection PLUS - newly updated for 2013!
268 Transactions
All payment methods are secure and covered by SeekIC Buyer Protection PLUS.
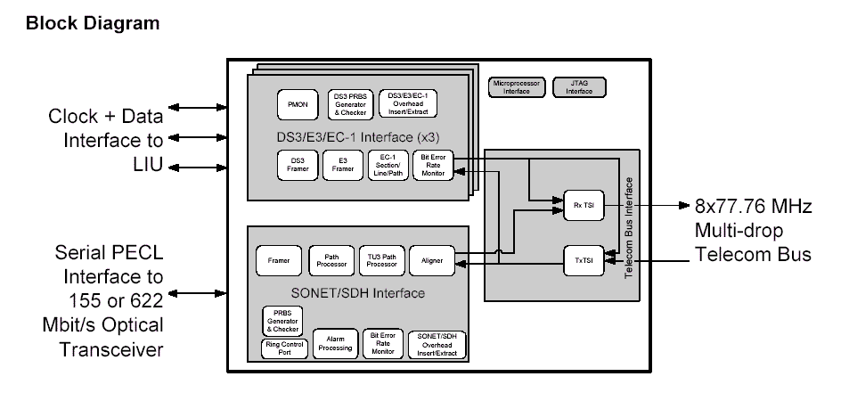
SONET/SDH INTERFACE
• Interface rate software selectable between OC-3/STM-1 (155.52 Mbit/s) and OC-12/STM-4 (622.08 Mbit/s) rates
• Integrated clock recovery & synthesis allows direct interface to low-cost optical transceivers
• Integrated clock synthesis generates line clock from 77.76 MHz reference
• Complies with Bellcore, ANSI, and ITU specifications for Jitter Tolerance and Jitter Generation
• High order path processing and alignment to STS-1/AU-3/TU-3 level
• Full access to all SONET/SDH Transport overhead bytes via a dedicated serial port
• Full access to all SONET/SDH STS- 1/AU-3/TU-3 path overhead bytes via a dedicated serial port
• Full access to all DCC bytes via a dedicated serial interface
• Ring Control port provides real time detection of error conditions and insertion of alarms such as AIS & RDI
• Section and Path Trace filter and monitor checks for Trace Identifier Mismatch (TIM) and Trace Identifier Unstable (TIU) conditions
DS3/E3/EC-1 INTERFACE
• Flexible three-port DS3/E3/EC-1 Interface
• Supports clear channel mapping/demapping of DS3 or E3 into/from STS-1, AU-3, or TU-3
• Fully digital desynchronizers require no external PLLs for standardscompliant operation
• Integrated desynchronization CSU allows low rate reference clock at 44.736 MHz, 34.368 MHz, or 51.84 MHz
• Bi-directional digital jitter attenuation for DS3 and E3 streams allows interfacing to low cost LIUs
• Full bi-directional performance monitoring for DS3, E3, and EC-1 streams
• Full access to DS3/E3/EC-1 Overhead bytes
GENERAL FEATURES
• Provides an industry standard 8-bit, 77.76 MHz telecombus interface
• Multi-drop capability allows multiple devices to share the add/drop bus for redundancy or multiplexing purposes
• Full Time Slot Interchange (TSI) allows flexible mixing of traffic from the SONET/SDH and DS3/E3/EC-1 Interfaces
• Supports diagnostic 223-1 pseudorandom bit-sequence (PRBS) generation and monitoring
• Provides a standard JTAG test-port for boundary scan board-test purposes
• Provides a generic 16-bit microprocessor interface for control and monitoring
• 15x15mm 196 ball CABGA package allows for flexible placement and routing
