Features: The PM8316 TEMUX-84 is a 155 Mbit/s multi-channel T1/E1 Framer with integrated VT/TU Mappers and M13 Multiplexers.• This monolithic device integrates: • 84 T1 framers• 63 E1 framers • Three SONET/SDH VT1.5/VT2/TU11/TU12 bit asynchronous or byte synchronous mappers...
PM8316: Features: The PM8316 TEMUX-84 is a 155 Mbit/s multi-channel T1/E1 Framer with integrated VT/TU Mappers and M13 Multiplexers.• This monolithic device integrates: • 84 T1 framers• 63...
SeekIC Buyer Protection PLUS - newly updated for 2013!
268 Transactions
All payment methods are secure and covered by SeekIC Buyer Protection PLUS.
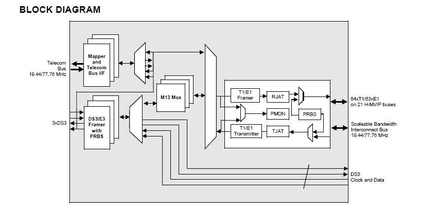
The PM8316 TEMUX-84 is a 155 Mbit/s multi-channel T1/E1 Framer with integrated VT/TU Mappers and M13 Multiplexers.
• This monolithic device integrates:
• 84 T1 framers
• 63 E1 framers
• Three SONET/SDH VT1.5/VT2/TU11/TU12 bit asynchronous or byte synchronous mappers
• Three full featured M13 multiplexers with DS3 framers
• Three SONET/SDH DS3 mappers for terminating DS3 multiplexed T1 streams, SONET/SDH mapped T1 streams or SONET/SDH mapped E1 streams
• Each SPE/STS-1 can be
independently programmed for various T1, E1 or DS3 modes of operation.
• Supports wide range of T1, E1 and J1 framing formats.
• Supports M23 and C-bit parity DS3 formats.
• Stand-alone unchannelized E3 framer mode (ITU-T Rec. G.751 or G.832) for access to the entire E3 payload.
• Flexible line side and system side interface support :
• Provides a 19.44 or 77.76 MHz SONET/SDH Add/Drop Telecom bus interface for seamless connection with PMC's SONET/SDH devices.
• Supports a byte serial Scaleable Bandwidth Interconnect (SBI™) bus interface at either 19.44 MHz or 77.76 MHz for high density system side device interconnection to PMC's link layer products.
• Supports 8 Mbit/s H-MVIP on the system interface for all T1 or E1 links, a separate 8 Mbit/s H-MVIP system interface for all T1 or E1 CAS channels and a separate 8 Mbit/s H-MVIP system interface for all T1 or E1 CCS and V5.1/V5.2 channels.
• Support for transparent virtual tributaries when SBI interface is used w ith SONET/SDH mapper.
• Supports insertion and extraction of arbitrary rate (eg. fractional DS3) data streams to/from the SBI bus interface.
• Provides jitter attenuation in the T1/E1 tributary receive and transmit directions.
• Provides three independent de-jittered T1 or E1 recovered clocks for system timing and redundancy.
• Provides per link diagnostic and line loopbacks.
• Provides PRBS generators and detectors at DS3 and E3 rates and on each tributary for error testing at T1, E1 and NxDS0 rates as recommended in ITU-T O.151, 0.152.
• Feature-rich functional software drivers
available with device.
• Provides a generic 8-bit microprocessor bus interface for configuration, control and status monitoring.
• Provides a standard 5 signal P1149.1 JTAG test port for boundary scan board test purposes.
