Features: • JEDEC standard 3.3V power supply• LVTTL compatible with multiplexed address• Four banks operation• MRS cycle with address key programs -. CAS latency (2 & 3) -. Burst length (1, 2, 4, 8 & Full page) -. Burst type (Sequential & Interleave)• All ...
SDRAM64MbH-die: Features: • JEDEC standard 3.3V power supply• LVTTL compatible with multiplexed address• Four banks operation• MRS cycle with address key programs -. CAS latency (2 & 3) ...
SeekIC Buyer Protection PLUS - newly updated for 2013!
268 Transactions
All payment methods are secure and covered by SeekIC Buyer Protection PLUS.
Features: • JEDEC standard 3.3V power supply• LVTTL compatible with multiplexed addres...

| Parameter | Symbol | Value | Unit |
| Voltage on any pin relative to VSS | VIN, VOUT | -1.0 ~ 4.6 | V |
| Voltage on VDD supply relative to VSS | VDD, VDDQ | -1.0 ~ 4.6 | V |
| Storage temperature | TSTG | -55 ~ +150 | °C |
| Power dissipation | PD | 1 | W |
| Short circuit current | IOS | 50 | mA |
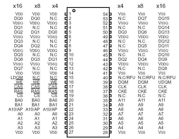
The SDRAM64MbH-die is 67,108,864 bits synchronous high data rate Dynamic RAM organized as 4 x 4,194,304 words by 4 bits, / 4 x 2,097,152 words by 8 bits, / 4 x 1,048,576 words by 16 bits, fabricated with SAMSUNGs high performance CMOS technology. Synchronous design allows precise cycle control with the use of system clock I/O transactions are possible on every clock cycle. Range of operating frequencies of the SDRAM64MbH-die, programmable burst length and programmable latencies allow the same device to be useful for a variety of high bandwidth, high performance memory system applications.