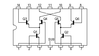
Features: ·Complete Dual Long-Tailed Pair in One Package·Very High fT - Typically 5 GHz·Very Good Matching Including Thermal MatchingApplication·Wide Band Amplification Stages·140 and 560 MBit PCM Systems·Fibre Optic Systems·High Performance Instrumentation·Radio and Satellite CommunicationsPinout...
SL2364: Features: ·Complete Dual Long-Tailed Pair in One Package·Very High fT - Typically 5 GHz·Very Good Matching Including Thermal MatchingApplication·Wide Band Amplification Stages·140 and 560 MBit PCM S...
SeekIC Buyer Protection PLUS - newly updated for 2013!
268 Transactions
All payment methods are secure and covered by SeekIC Buyer Protection PLUS.

The SL2364 is an array of transistors internally connected to form a dual long-tailed pair with tail transistors. This is a monolithic integrated circuit manufactured on a very high speed bipolar process which has a minimum useable fT of 2.5GHz, (typically 5GHz).
The SL2364 is in a 14 SO package and a high performance Dilmon encapsulation.